Brendan I. Koerner's Blog, page 45
April 22, 2011
The Scope of the Slithery Problem

One of the great riddles of epidemiology is the toll of snakebites on India. Various studies over the years have estimated the annual death toll anywhere from 1,300 to 50,000. Until recently, the most convincing analysis out there, based on data from local hospitals, put the number of fatalities at roughly 11,000 per year. But a new study, employing data culled from so-called verbal autopsies, concludes that the problem is much worse than feared:
Snakebite remains an important cause of accidental death in modern India, and its public health importance has been systematically underestimated. The estimated total of 45,900 (95% CI 40,900–50,900) national snakebite deaths in 2005 constitutes about 5% of all injury deaths and nearly 0.5% of all deaths in India. It is more than 30-fold higher than the number declared from official hospital returns. The underreporting of snake bite deaths has a number of possible causes. Most importantly, it is well known that many patients are treated and die outside health facilities – especially in rural areas. Thus rural diseases, be they acute fever deaths from malaria and other infections or bites from snakes or mammals (rabies), are underestimated by routine hospital data. Moreover, even hospital deaths may be missed or not reported as official government returns vary in their reliability, as shown from a study of snakebites in Sri Lanka. The true burden of mortality from snakebite revealed by our study is similar in magnitude to that of some higher profile infectious diseases; for example, there is one snakebite death for every two AIDS deaths in India.
Virtually every death by snakebite is preventable, of course, as long as the victim receives the appropriate anti-venom drug in time. It would seem that it would be relatively cheap to disseminate the most popular remedies to far-flung villages, so that victims who are located a great distance from hospitals can be treated as quickly as possible. But as previously discussed on Microkhan, antivenins are absurdly expensive, since so few drug companies produce them in any quantity. Until now, governments and NGOs haven't seen fit to apply pressure on such companies to ramp up production. Now that they have good evidence that a vast market awaits in India, perhaps it's time to state the case for antivenin manufacturing more forcefully. There is money to be made here if a program is created on the national level—and, more important, tens of thousands of lives to be saved.
April 21, 2011
The Giggle Box Comes Back
I recently watched Client 9: The Rise and Fall of Eliot Spitzer, which I can best describe as surprisingly awesome. As a resident of the Empire State, I thought I had a pretty good handle on our former governor's self-destruction, but the flick gave me a whole new perspective on the affair. It's shamelessly pro-Spitzer, and thus glosses over some of his more notable political failings, but it does make a convincing case that he probably deserved a break. His big mistake wasn't cheating on his wife with call girls, the movie argues; it was being so aggressive on Wall Street and in Albany that the knives were out for him as soon as he slipped up.
What really makes the movie work is the assortment of characters that director Alex Gibney convinced to get in front of his camera. My favorite might be Cecil Suwal, the madam of the escort service that provided Spitzer with his temporary paramours. The New York Times' David Carr aptly describes her as "a giggle box of truth"—there's a great scene (and possible Poncho nominee) in which she bursts out laughing while describing how she calculated the overnight rates for her escorts by simply adding a zero to their hourly rates. It takes you a moment to realize that she's talking about a sophisticated, multinational call girl ring, rather than the time she and her sorority sisters got drunk and did karaoke in Atlantic City.
Curious khan that I am, I naturally had to know what Suwal was up to these days. She's out of prison, as is her husband and business partner, Mark Brener (who also happens to be about four decades her senior). The couple is no longer peddling flesh, but rather "success." Their dodgy-sounding product is called "The Achievers' System for Finding Joy, Fulfillment and Meaning in Success," and it's all described here:
This program contains the key to Creative Genius and the wealth it brings. It is the most Advanced, Complete System for Achievement, Success, Peace of Mind and Happiness. While course registration is yours at $25,000 USD our income is derived primarily from the success you gain after having taken this course.
This 15-week seminar course will change your life. It will enable you to rise to even higher levels of success than ever before. Gain access to the Supreme Powers inside you to structure and create your life according to your most important ideals…
This the first course to make public (largely buried) ancient knowledge and its direct relationship to leading Frontier Science. In the long chain of human evolution, access to such relevant information has never been so timely. Strictly for those accustomed to excellence, this course is that which the best of the best have long needed to reach their newly undiscovered heights…
During the period spent in the "desert" we were able to experience previously unknown facets of life, do personal research and learn from both contemporary and ancient teachers such as M. M. Schneerson, Eckhart Tolle, David Hawkins, Jesus Christ, Eric Kandel, Steven (sic) Hawking and many other beautiful people who in their own, unique ways pierced a few "layers" of, what Kabbalah and other writings call, universal wisdom.
If you read the fine print, you'll note that the $25,000 course fee is only the beginning of an attendee's financial commitment to Suwal and Brener. They will also owe the couple 10 percent of the gross profits on every $1 million they earn henceforth.
Personally, I'm skeptical that anyone who gets a "Property of Mark Brener" tattoo by their privates has a firm understanding of the mysteries of human existence. But if any Microkhan readers do take the plunge, please report back.
April 20, 2011
Prick Up Your Ears
It's been a long time since overtly political music was considered dangerous in this country—as much as I like Dead Prez, for example, I sort of doubt that the FBI is bothering to give the group the John Lennon treatment. But the situation is very different in the anarchic amalgam commonly known as Somalia, a place where the most celebrated musicians have long had the power to stir the pot in a meaningful way. And no one has a better track record of riling up the powers-that-be than Saado Cali Warsame, the fractured country's most revered female singer.
Warsame's latest song is "Ha dhigan Dhiigshiil" (above), which roughly translates as "Don't send your money through Dahabshiil," the name of a money transfer company popular among Somali expatriates the world over. Warsame accuses Dahabshii of funding Al-Shabaab, the Islamic fundamentalist insurgency that is fighting to control Somalia. According to this clunkily translated account, the beef between Warsame and Dahabshii is personal:
The company recently lost a court case against a well-known investigative journalist Dahir Abdulle Alasow in Breda Netherlands, after the company accused the reporter of humiliating figures in the company, goodwill defamation and accusation related to Dahabshiil's attempt to assassinate singer Sado Warsame.
The song relates Dahabshiil to Alshabab, a militant group allied to Alqaeda which rules much of Southern Somalia with brutal laws, and a slow genocide going on in the Sool, Sanag and Ceyn (SSC) regions in Somalia by Somaliland forces, which Warsame is originally from.
Dahabshiil rejected the accusation and sued the investigative reporter whose website waagacusub.com published the articles relating Dahabshiil attempt to assassinate the artist Warsame and the linkage to the terror group and the slow genocide in SSC regions. But the judge in Breda district court ruled out Dahabshiil's argument and ordered the reporter to keep doing his job freely, and states the accusation as baseless.
Dahabshii has much to fear from Warsame's music because she has proven once before that she has the power to influence the Somali masses. Her late 1980s song "Land Cruiser" is credited with helping to bring down the regime of Mohamed Siad Barre, the target of Warsame's lyrics. Barre was not amused:
The Somalis' intolerance for Siad Barre became open and truly populist. Fearing the "three o'clock knock" that presaged executions, poets and singers led dissent. Siad muzzled an entire troupe after it performed "The Land Cruiser Song" for him at the National Theater. The song condemned his Nero-like propensity for collecting expensive foreign vehicles while his people perished.
If I was an executive at Dahabshii, I would be very nervous right about now. Perhaps they should fight fire with fire and hire a singer to pen a pro-company song. I believe Dexy's Midnight Runners is available.
April 19, 2011
Keeping Up with the Boatengs

Who among us doesn't enjoy a tale of humanity laughing in the face of death? And so a zillion eyeballs were understandably drawn to this entertaining New York Times' account of the massive parties that Ghanaian expatriates throw when a loved one back home meets his or her Maker. This admirably raucous tradition is a staple of Ghanaian life, as well as a frequent topic of fascination for foreign journalists. But is Ghana's infatuation with lavish funerals economically unwise, to the point that government intervention is merited? A Ghanaian activist makes the case here:
The annoying part of the whole drama is the fact that in some communities in Ghana funeral donations are compulsory fees that must be paid by all citizens of such communities, whether they are in town or whether they live abroad. One of such communities is where I come from. If a citizen fails to pay the prescribed compulsory funeral fee, that citizen forfeits his or her right to have a proper funeral when he or she dies. This means that citizens who stay abroad, or who live far away in some parts of Ghana have to make some arrangements for members of their families in town to pay on their behalf all funeral fees in respect of the funerals of all people who die in the town or village. However in all these communities that include my own, there are no "health care committees" that collect "health care fees" to help provide care for people who are ill and need medical care that is beyond their individual capabilities. When one considers the way we cherish dead in Ghana and spend thousands and millions of cedis on funeral while we never care as much about the millions of living Ghanaians who are poor and old who need our care, including health care, one wonders whether Ghanaians have any sense of value and priority.
Ghana is hardly alone in debating whether the human tendency toward one-upmanship needs to be reined in through regulation. The Afghan government is currently considering placing limits on the cost and scope of weddings, under the theory that too many young men and women are remaining unwed because their families have been priced out of marriage-party industry.
The flipside to this debate, of course, is that lavish affairs cause significant economic activity. When The Economist wrung its hands over Ghana's funerals four years ago, a reader replied with a salient point:
As far as I can see there is a free burials-market in Ghana, where people interested in a lavish funeral can access it. This activity employs many people (pall-bearers, coffin makers, professional mourners, music bands, caterers, house painters, beer makers, T-shirt makers, bus drivers, etc.) With an unemployment rate of 20%, it seems that funeral services, as a voluntary market in an industry that help employ many Ghanaians, has distributive effects and improves efficiency. It is a device to signal family reputation (and helps surviving family members in their networking, political and business endeavors).
I think the last point is the most interesting—that funerals, weddings, and other social rituals serve a purpose beyond just flaunting one's influence and wealth. But how does one calculate the economic impact of the social exchanges made in these environments? That is the sort of economic research I'd like to see more of—and would be happy to conduct on my own, if it involves attending events like this.
April 18, 2011
Coin on a Wire
Sorry to start the week out on a rushed note, but gotta jet out to the far reaches of Queens to work some business magic. Back soonest.
April 15, 2011
Introducing the Ponchos
I'm assuming this news will break few hearts, but Bad Movie Friday is gonna go on hiatus for a while. I just got a little sick of sifting through the mountains of cinematic dreck each week; it's pretty depressing to realize that Invasion U.S.A. is actually the cream of the B-grade action crop. And so henceforth, I will be wasting no more precious hours reviewing the oeuvre of —at least for the next few months.
But fear not, Microkhan is not totally abandoning the movie beat. I'll be replacing Bad Movie Friday with a periodic awards series called the Ponchos. This coveted prize is named after Richard Chaves' character from Predator, who sadly ends up losing his life in a generic Central American jungle. But before he does, he is gravely wounded by the film's titular antagonist, so much so that his comrades briefly ponder leaving him behind to die. Sensing that he might be discarded like a licked-clean Popsicle stick, Poncho grits his teeth and utters a throwaway line that has stuck with me for decades now:
I can make it!
In homage to that one-second moment of unintended cinematic greatness, the Ponchos will honor tiny movie fragments that were never meant to be extraordinary, but somehow left an indelible impression on viewers' minds. The awards' criteria are pretty strict: the honorees must be consist of dialogue no longer than a single sentence, and they must involve bit players rather than stars. Special consideration will be given to moments in which the impact is created more by facial contortions (aka "acting") than mere words.
I created this award for somewhat selfish reasons. I'm on the verge of starting to write my second full-length book, and I want to make the project's main narrative as cinematic as possible. I'm starting to realize that the best way to do this is through the careful selection of minor details—moments that may not seem significant in the grand scheme of things, but that enrich the story far more than pages' worth of exposition. For example, there's a moment I plan on introducing early on, in which a hostage notices that her friend is shaking with fear—a vibration she detects by looking at the plate of red Jell-O in her pal's hands. Doling out the Ponchos on a semi-regular basis will hopefully give me a better sense of what makes those sorts of scenes hum and pop.
Nominations appreciated in comments, of course. And if anyone could upload that "I can make it!" scene to The Tubes, I'd be much obliged—can't seem to find it anywhere.
April 14, 2011
The Scent of Perfume in Biloxi
Since I know first-hand the terrible things that young men are capable of when deprived of romantic companionship for too long, I fear for the future of India. The country's gender ratio is skewing way too male these days, which means that tens of millions of 21-year-old men will one day find themselves coming up snake eyes in the game of love. Suffice to say that such men rarely replace that quest with more noble pursuits. A few may move to the state of Mizoram in the hopes of bettering their odds; many more will turn to anti-social and self-destructive activities to fill the holes in their souls.
Reading about India's tilting gender ratio got me wondering about the long-term male-versus-female trends in the U.S. You probably already know that double-X chromosomes reign supreme on these shores, particularly along the Atlantic and in the Deep South. Yet a century ago, the exact opposite was true, largely due to the fact that first-generation immigrants (who were predominately male) made up such a large portion of the population. There were just a handful of states where women outnumbered men; in the Carolinas, it was probably due to the textile industry, while I'm going to guess that the demographics of Massachusetts and Rhode Island were deeply affected by the high mortality rates in their fishing industries.
I'm most struck now by the fact that Mississippi is the most female state in the U.S. I've yet to come across a convincing explanation for this, though I can venture three guesses: men move to wealthier states in search of work, much like immigrants from Mexico and Latin America who venture north; the state's high murder rate affects men far more than women; and that heart disease, though a problem for both genders, takes a heavier toll on those of the less-gentle sex.
The question, then, is whether a state can prosper with its gender ratio so out-of-whack. Is there any public interest in attempting to recruit males, in particular, to move to Mississippi? If so, I foresee a government ad campaign patterned after that employed by Axe Body Spray.
April 13, 2011
The Patron Saint of Chi-Chi's

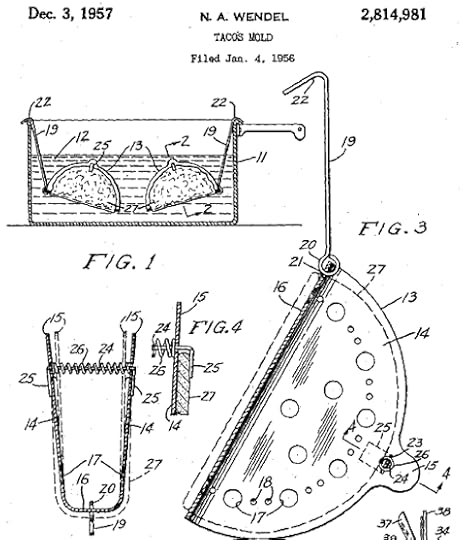
I'm working on a Wired piece that's requiring some deep-diving into Patent Office history, and so I've recently been losing myself in Google's nifty patents database (which is far more user-friendly than Uncle Sam's). For some odd reason, I've found myself gravitating toward food-technology patents, since engineering innovation has obviously remade the American diet—and, by extension, the American body—over the past century. A prime example of this phenomenon is the invention that opened up our nation's gullets to the potentials of Mexican cuisine: the uniform taco mold, patented in 1956 by Nolan Wendel of Cuero, Texas. If anyone man deserves to have his portrait hung up in every Chi-Chi's in the world, in the same manner that Turkish businesses pay homage to Atatürk, it's Wendel. Without his knack for turning corn tortillas into uniformly shaped meat vessels, the taco would have had a very different introduction to the U.S.
Wendel appears to still be living, but I see no evidence that he became fabulously wealthy from his invention. It's not too late to grant him entry into the Food Industry Hall of Fame.
April 12, 2011
A Different Kind of Road Rage

Because Bangladesh's public institutions are rickety at best, frustrated citizens often feel as if they have no choice but to resort to vigilantism. That's certainly been the case in regards to the country's abysmal road safety situation, as the police seldom exhibit any interest punishing drivers who mow down pedestrians or rickshaw pullers. The result of that negligence is a fatality rate that is nothing short of astronomical: 60 deaths per every 10,000 vehicles, compared to about 1.5 deaths per 10,000 vehicles in the United States. Now the residents of Dhaka, Chittagong, and other major population centers are demanding an end to the carnage, and they're not shy about using force to make their feelings known:
Traffic movement on Dhaka-Sylhet and Dhaka-Chittagong highways remained halted for an hour following a death of a Jagannath University student in a road accident in Narayanganj on Sunday.
Tayeb Nur Chowdhury Bappi, 25, a fourth year student of Marketing Department of Jagannath University, died on the spot when a speedy bus hit his rickshaw near Kanchpur Bridge on his way to local bus stand at about 6:30am, Shahriar Hossain, officer-in-charge of Kanchpur Highway Police Outpost, said.
Locals nabbed the bus but the driver managed to flee the scene.
Following the incident agitated locals put blockades on the highways for half an hour.
Later on the day, hundreds of students of the university thronged the Kanchpur Bridge area and blocked the two highways from 11:30am to 12:00noon disrupting the traffic movements.
The students removed the barricades after police assured them of punishment to the killer after arresting him.
An account of another recent case of post-accident vigilantism can be found here. Bangladeshis obviously want the drivers of vehicles involved in fatal accidents to suffer the consequences of their actions, but things aren't always so simple. Not every fatal accident is the result of malfeasance, of course, which means that the Bangladeshi police need to investigate the particulars of each crash before deciding whether or not to arrest anyone. That could be a tall order, given the limited resources available to the nation's cops.
A better solution may be a compensation system—basically making these accidents civil matters, so that drivers must pay the families of the deceased, but don't face jail time. No, it's not a perfect answer, but it's certainly a great deal better than letting rioters dictate how the police respond.
April 11, 2011
Dirty Necks
Mere hours to go before the first draft of my latest Wired yarn is due, and I'm struggling to come up with an ending that amounts to more than just a variation on "Only time will tell." I reckon it'll somehow have to incorporate the information offered here, but how to pull off that neat trick is currently beyond me. Wish me luck, and enjoy yourself some dreadful television above—and perhaps explain to me why Satan's Angels would kidnap a cop. Who does that?



