Greg Ross's Blog, page 636
January 3, 2014
Twos-Day
There were 214 Tuesdays between Jan. 1, 1700, and Jan. 1, 2014.
(Thanks, Josh.)
The Isdal Woman
On Nov. 29, 1970, on a remote hiking trail in Norway’s Isdalen Valley, a university professor and his two daughters discovered the body of a woman lying in a burned-out campfire. In the grass around her were a dozen pink sleeping pills, a packed lunch, an empty quart bottle of liqueur, and two plastic bottles that smelled of gasoline. She had died from a combination of burns and carbon monoxide poisoning, and an autopsy showed traces of at least 50 sleeping pills in her body. Her neck bore a bruise, possibly the result of a blow.
In the ensuing investigation, Bergen police found that the woman had visited the city three times between March and November that year. On the last visit she had checked into the Hotel Rosenkrantz for one day, then moved to the Hotel Holberg, where she had remained in her room and seemed watchful. On Nov. 23 she paid cash for the room and asked the receptionist to call a taxi for her. Her body was found six days later.
Her identity was an insoluble puzzle. She had checked into the Holberg as a Belgian named Elisabeth Leenhower, but police discovered that she had maintained at least nine different identities and spoke German, English, Belgian, and French, all with an indistinct accent. She had left two suitcases in a locker at the train station, but all identifying information had been removed: The labels had been cut out of her clothes, and even the name tag of a bottle of cream had been scraped away. Sketches of the woman were circulated throughout Norway, but no one knew her.
After interviewing 100 people in a three-week investigation, the police formally ruled her death a suicide. On Feb. 5, 1971, a procession of 18 officers bore her to the cemetery where she lies today. Her identity has never been discovered.
See The Somerton Man.
January 2, 2014
Black and White
Object Lesson
Samuel Taylor Coleridge wrote this for his son Derwent in 1807 — each line is written in the foot it describes:
Trōchĕe trīps frŏm lōng tŏ shōrt;
From long to long in solemn sort
Slōw Spōndēe stālks, strōng fōot!, yet ill able
Ēvĕr tŏ cōme ŭp wĭth Dācty̆l trĭsȳllăblĕ.
Ĭāmbĭcs mārch frŏm shōrt tŏ lōng.
Wĭth ă lēap ănd ă bōund thĕ swĭft Ānăpĕsts thrōng.
One syllable long, with one short at each side,
Ămphībrăchy̆s hāstes wĭth ă stātely̆ stride –
Fīrst ănd lāst bēĭng lōng, mīddlĕ shōrt, Amphĭmācer
Strīkes hĭs thūndērĭng hōofs līke ă prōud hīgh-brĕd Rācer.
If Derwent be innocent, steady, and wise,
And delight in the things of earth, water, and skies;
Tender warmth at his heart, with these meters to show it,
With sound sense in his brains, may make Derwent a poet –
May crown him with fame, and must win him the love
Of his father on earth and his father above.
My dear, dear child!
Could you stand upon Skiddaw, you would not from its whole ridge
See a man who so loves you as your fond S.T. Coleridge.
Misterioso
Edward Elgar loved hidden meanings. The English composer filled his letters with wordplay and musical riddles, and he named one of his family homes Craeg Lea, an anagram of the names (C)arice (A)lice and (E)dward ELGAR.
Two of his puzzles have never been solved. One lies at the heart of the so-called Enigma variations, a set of 14 variations on a theme that Elgar said is “not played.” What does this mean? “The Enigma I will not explain,” he wrote in a program note for the first performance in 1899. “Its ‘dark saying’ must be left unguessed, and I warn you that the connection between the Variations and the Theme is often of the slightest texture; further, through and over the whole set another and larger theme ‘goes’, but is not played. … So the principal Theme never appears, even as in some late dramas … the chief character is never on the stage.” He took the solution to his grave, and music lovers have been searching for the hidden theme for more than 100 years.
The second mystery lies in a letter that Elgar wrote two years before Enigma premiered. On July 14, 1897, he sent the message above to 22-year-old Dora Penny, the daughter of his close friend Alfred Penny, rector of St. Peter’s, Wolverhampton. “It is well known that Elgar was always interested in puzzles, ciphers, cryptograms, and the like,” she wrote in her book Edward Elgar: Memories of a Variation. “The cipher here reproduced — the third letter I had from him, if indeed it is one — came to me enclosed in a letter from [Elgar's wife] to my stepmother. On the back of it is written ‘Miss Penny.’ It followed upon their visit to us at Wolverhampton in July 1897. I have never had the slightest idea what message it conveys; he never explained it and all attempts to solve it have failed. Should any reader of this book succeed in arriving at a solution it would interest me very much to hear of it.”
No satisfactory solution has ever been found. Elgar named Dora herself as the inspiration for the 10th variation of the Enigma, so some wonder whether this was a clue. When she asked him in later life about the musical puzzle, he said, “I thought you, of all people, would guess it.” But no one knows what this means, and if Dora ever found the answer she told no one before her death in 1964. Perhaps the solution is now beyond our reach.
January 1, 2014
In a Word
philonoist
n. a lover of knowledge
inscient
n. ignorant; lacking knowledge
philalethist
n. a lover of the truth
“Have the courage to be ignorant of a great number of things, in order to avoid the calamity of being ignorant of everything.” — Sydney Smith
From a letter from Ben Franklin to John Lining of South Carolina, March 18, 1755:
I find a frank acknowledgment of one’s ignorance is not only the easiest way to get rid of a difficulty, but the likeliest way to obtain information, and therefore I practice it: I think it an honest policy. Those who affect to be thought to know every thing, and so undertake to explain every thing, often remain long ignorant of many things that others could and would instruct them in, if they appeared less conceited.
December 31, 2013
The Pitot Theorem
If a quadrilateral circumscribes a circle, then the sums of its opposite sides are equal.
Above, a + c = b + d.
Rising Above
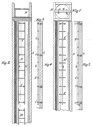
This is rather unpleasant. In 1883 John Fleck patented a “life-saving apparatus for privy-vaults,” “to provide a means of escape from the vaults should a person by accident fall therein.”
Apparently this was a problem. “In various sections of the United States deep vaults are commonly used, generally constructed of masonry, and, as is often the case, they are but imperfectly covered or otherwise protected at the top to guard against persons falling therein.”
Fleck’s solution is basically a ladder set into the wall of the vault. Good for him, I guess. I hope he wasn’t inspired by some personal tragedy.
December 30, 2013
A Distilled Impression
Henry Kettle painted this pyramid anamorphosis around 1770. If a mirrored pyramid is placed at the center of the canvas, then each of its sides reflects a portion of one of the four distorted heads … producing a true hidden portrait when viewed from above.
Big Time

Image: Wikimedia Commons
Some notable clock faces: the Metropolitan Life Insurance Company Tower in Manhattan (upper left), the Palace of Westminster in London (upper right), the Allen-Bradley Clock Tower in Milwaukee (lower left), the Spasskaya Tower at the Kremlin (lower right), and the Abraj Al Bait tower in Mecca (center).
Unbelievably, these are shown to scale. Each of the four faces on the Abraj Al Bait is 43 meters square; the minute hand alone is 22 meters long.
The Palace of Westminster is unusual in that its clock uses the numeral IV — most clocks with Roman numerals use IIII in the fourth position, for unclear reasons.


