Andrew Huang's Blog, page 43
February 11, 2013
Name that Ware, February 2013
The Ware for February 2013 is shown below.
For what it’s worth, here is a close-up of part of the ware:
恭喜发财!
Winner, Name that Ware January 2013
Last month’s ware was a machine for making custom card-edge connectors for game cartridges. The machine is made by AUK Contractors, a Taiwanese connector company with factories in China. AUK is on my short list of suppliers for volume quantities of connectors. Their ability to make highly automated machines like this is rare in China, and their extraordinary sophistication in automated manufacturing allows them to maintain quality while hitting price points many other manufacturers can’t touch.
Below is a video of the machine in operation (caution: the machine is very loud, I recommend adjusting the volume down before hitting play).
You can also watch in HD (24 MB).
I can stare and watch machines like this operate for hours. I’m particularly fascinated by the vibrating buckets that, through simple shaking motions, takes a random pile of connectors and lines them up. The vibration of the bucket is biased; if you put your hand on the edge of the bucket, your hand will also magically glide in the same direction as the connectors. There are a series of notches and ledges on the internal guide tracks that cause connectors in the wrong orientation to fall back into the bucket, such that by the time connectors reach the top they are all in just one orientation.
I believe that this machine is making the connectors used by the Leapfrog Leapster series of handheld educational game consoles. Arnuschky was the first to guess a game connector, and thus is the winner. Congrats, email me for your prize!
January 29, 2013
The Factory Floor Part 4 of 4:Picking (and Maintaining) a Partner
Just like the wands from Harry Potter, a good factory chooses you as much as you choose them. Forget the term “vendor” and replace it with “partner”: if you’re doing it right, you aren’t simply instructing the factory; there should be a frank dialog about the trade-offs involved, and how things can be improved. Furthermore, a healthy relationship with a factory can lead to better payment terms, which improves cash flow. In some cases, factory credit can directly replace raising venture capital, taking loans, or Kickstarting. As a result, I treat good factories with the same respect as investors and partners in a business.
Here are some basic things to remember when forming a relationship with a factory.
“It’s easy to know the cost, but hard to know the price“. Cost reduction is critical for any business, but nobody can make up a loss with volume. When negotiating prices with a factory, take a step back and check if everything makes sense. If a quote seems too good to be true, it often is. Factories that lose money on a deal will stop at no end to make it back. Many manufacturing horror stories have roots in unhealthy cost structures – a factory’s first prerogative is survival, even if it means mixing defective units into lots to boost margin, or assigning novice engineers to a flagging project to better monetize their seasoned engineers on more profitable customers.
“If you can’t talk with the boss, you’re nobody”. Work with a factory too big, and you risk getting lost in bureaucracy, and pushed out of the line at critical times by bigger customers. Work with a factory too small, and they can’t provide the services you need. My rule for right-sizing a factory is to pick the biggest facility where you can get direct access to the lao ban (factory boss) on a regular basis. It’s a good sign if on the first meeting, the lao ban is there to give you a tour and asks astute questions about your business over lunch.
“Light is the best disinfectant”. If a factory will not quote with an “open BOM”, i.e., a quotation where the cost of every component, process, and margin is explicitly disclosed (not the same use of the word “open” as in the F/OSS context), I won’t work with them. Cost reduction discussions cannot function without transparency; there are too many places to bury costs otherwise. Likewise, if cost discussions seem to be turning into a game of “whack-a-mole” where reduced costs on one line item are inexplicably popping up in another item, run away.
Quotations
A quote should have called out the price of each part, the excess for the job, labor, overhead, and NRE. Here are some of the fine points to understand about quotations that are not immediately obvious:
“Excess” is the result of what I call the hot dogs-and-buns problem. Hot dogs come in packs of 10, but buns come in packs of 8. So unless one buys 40 servings, there’s going to be left over buns or hot dogs. Likewise, many components come only in 3,000 piece reels, so a 10,000 piece build will conclude with 2,000 pieces of excess (four reels equals 12,000 pieces). “Cut tape” (or partial reels) exist, but the cost per part of cut tape is much higher, as this just shifts the risk of excess material onto the distributor. Excess isn’t all bad – excess can be folded into future runs of a product. So, as long as a decent run rate is sustained, the excess inventory turns into cash on a regular basis. However, at some point production will end or pause, and the bill for the excess will arrive, putting a crimp on cash flow. If a quote is lacking an excess column, it’s possible the factory is charging for the full reel but keeping the excess for their own purposes (this is where many of the gray market goods in Shenzhen come from); or they will just send an unexpected invoice for it down the road. In my opinion, it’s best to get that all out there up front so as to build a complete cradle-to-grave business model.
Labor costs are devilishly tricky to estimate. However, the good news is that for high tech assemblies, labor is typically a small fraction of total cost. The labor cost of assembling a straightforward board with 200 parts on it in small volumes in China may be about $2-3, whereas the cost of doing it in the US is closer to $20-$30. So even if labor prices double overnight in China and halve in the US, China may still be competitive. This is in contrast to the lower-value goods moving out of China (such as textiles), where the base value of the raw material is already low so labor costs are a significant portion of the final product cost. I usually don’t argue too much over labor costs, since the end result of scrimping on labor is often lowered quality, and pushing too hard over labor costs can force the factory to reduce the worker’s quality of life by trimming benefits.
Factory margin is also a bit of an art to negotiate. The fair margin for a factory depends on how much value they’ve added, and the volume of production. There are no hard and fast rules for margin. Although I give guidance here, remember there are always exceptions to the rule, and everyone has a special deal that can be cut. Also, the definition of “margin” varies depending on the facility. Some facilities include scrap, handling overhead, and even R&D expense into the “margin”, whereas others may break those out on separate lines, so it’s important to look at the big picture and use some common sense when reviewing a quotation. In general, margin will range between single-digit to low double-digit percentages depending upon volume, value add and project complexity. For very low quantity production lots (~1k pieces) there may also be a per-lot “line fee” charged. This fee partially defrays the cost of setting up an assembly line only to tear it down after running for a short period of time. A line’s throughput may be very fast, producing hundreds to thousands of units a day, but it also takes days to set up.
NRE, or “non-recurring engineering” – these are one-time fees required to set up a production run, such a stencils, SMT programming, jigs and test equipment. Note that the re-use of test equipment between customers is considered bad practice, so if a multimeter is required as part of a production test, don’t be surprised if a bill for a multimeter is tacked onto the NRE. This is due to customers having drastically varying standards around the maintenance and use of test equipment.
Miscellaneous Advice
Here are a few final parting thoughts to keep in mind.
Have an understanding of how scrap or exceptional yield loss is handled. There are a few schools of thought around this. Ideally, one only pays for good, delivered items, and the factory bears the burden of defectivity. This gives the factory an incentive to maintain a high production quality, because every percent of defectivity eats away at their margin. However, if the design has a flaw or is too hard to build, and defectivity is high, the factory may start shipping lower quality units as a desperate measure to meet production and margin targets. They may also start gray-marketing defective goods to recover cost, leading to brand reputation problems down the road. It’s good to have some sort of an understanding on how to handle such a contingency ahead of time. This may include, for example, a dedicated “scrap” line item inside the quotation to handle defectivity explicitly.
On the subject of scrap & yield, it’s a good idea to order more units than the proven demand. These extras go toward handling returns and exchanges. Despite best efforts, mistakes do happen; sometimes they aren’t your fault, such as shipping damage. Ordering 1,000 pieces to fulfill a 1,000 piece Kickstarter campaign means returns and exchanges can be handled with only refunds, as it’s just not practical to fire up the factory to make a dozen replacement units. Thus, as a general rule, I order a few percent excess beyond the customer deliverable, so that I have stock on hand to handle returns and exchanges. Units that don’t get used up by the returns process then turn into demo loaners or business development give-aways to drum up the next set of orders!
Keep an eye on shipping costs. These fees aren’t typically built into a quotation, but they impact the bottom line (greatly so for low-volume products). Fedex is a great tool to save time, but it’s also a very expensive addiction. Courier fees can easily wash out the profit on a small project, so manage those costs. Pro tip: couriers will offer discounts to frequent shippers, but you have to call in to negotiate the special rates.
Duties. Keep in mind that components imported to China without an import license are levied a 23% or so automatic duty on their value. The general rule for China is dutiable on import, duty free on export. If stuff is accidentally shipped across the border to Hong Kong, expect to pay a duty to get it back into China. Customs brokers can work the angles – for example, some brokers can get goods taxed by their weight and not their value, which for microelectronics is typically a good deal. I haven’t figured out all the customs rules, as they seem to be a moving target – every month it seems there is a new rule, fine, exceptional fee or tariff to deal with. There are also plenty of shady ways to get goods into China, but I sleep better at night knowing I do my best to comply with every rule. The reason quotations don’t include duties is that it’s assumed by default there will be an import license. Import license enable the duty-free import of goods. However, import licenses cost a few thousand bucks, take weeks to process, and have no room for flexibility, as they are tied to an exact BOM for the product. Small ECOs can invalidate a license – customs officers are known to count the number of decoupling caps on a PCB, and if it doesn’t match the count in the license, a fine is levied and the license is invalidated. Even deviations in the material used to line the decorative box can invalidate a license. This import license scheme favors high-volume produces, and punishes low volume producers.
As one can see, going to China isn’t for everyone. Particularly for those based based in the US, the overhead of courier fees, travel, duties, and late-night concalls adds up rapidly. As a rule of thumb, a US designer is better off assembling PCBs in the US for volumes less than 1k, and they don’t start seeing clear advantages until perhaps 5k-10k volumes. That math shifts in China’s favor as processes such as injection molding and chassis assembly come into play, due to the immense amount of expertise China has accumulated in these labor-intensive processes. Also, the break-even point can be much lower for those living in or near China, as courier fees, travel, and time zone impact are all a small fraction of what they are coming from the US. This compounds with the fact that locals are more effective at leveraging the component ecosystem in China, leading to further cost reductions compared to a design produced using only parts available in the US ecosystem. On the other hand, physically large assemblies or systems built using lots of dutiable components may be cheaper to build domestically, as it saves on shipping costs and tariffs. In the end, one should keep an open mind and try to consider all the possible secondary costs and benefits of domestic vs. foreign production before deciding where to park production.
January 28, 2013
Name that Ware, January 2013
The Ware for January 2013 is shown below.
This is a ware I saw while doing the geektour of Shenzhen this past month. Try to guess what it makes! I will post a video of it in operation in the solution to the ware. It’s really fascinating to watch it run.
Winner, Name that Ware December 2012
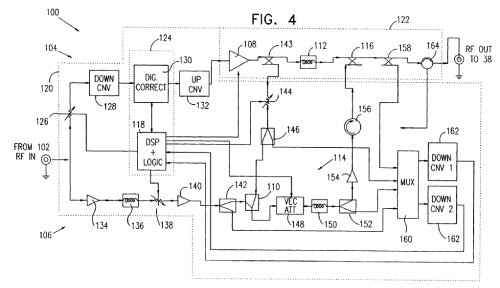
The Ware for December 2012 are boards from a 2100MHz RF PA module with digital predistortion, from a defunct company named Wiseband.
The submitter of the ware notes that there is a patent that is a close hit on this design, see figure 4 of “Super-linear multi-carrier power amplifier“. The PA board is block 108, the digital board is block 124; the rf board, with the 3 downconverters and 1 upconverter, is block 120, with some components connected externally to the board (not seen in the scans) – the delay lines and the error amplifier (154, 156).
Picking a winner this time is like throwing darts — lots of insightful analysis, but no exact matches. I’ll go with…Andy Bardagjy, email me for your prize!
January 19, 2013
A Moment of Silence for Aaron Swartz
I am joining siftdna.org in a moment of silence to mark Aaron Swartz’ passing. On January 25, I will bring down my blog for the day to honor his contributions and mark the tragedy of his passing.
Aaron’s treatment by MIT is not unfamiliar to me. Back when I was a graduate student there, I extracted security keys from the original Microsoft Xbox video game console. I still remember the crushing disappointment of receiving a letter from MIT legal repudiating any association with my work, effectively leaving me on my own to face Microsoft. However, in my case, the faculty of my then-lab, the AI lab, were outraged by this treatment. They openly defied MIT legal by publishing my work as an official AI Lab Memo, thereby granting me greater negotiating leverage with Microsoft. Microsoft, mindful of the potential backlash from the court of public opinion over suing an openly legitimized academic researcher, came to a civil understanding with me over the issue.
It saddens me that America’s so-called government for the people, by the people, and of the people has less compassion and enlightenment toward their fellow man than a corporation. Having been a party myself to subsequent legal bullying by other entities, I am all too familiar with how ugly and gut-wrenching a high-stakes lawsuit can be. Fortunately, the stakes in my cases were not as high, nor my adversaries as formidable as Aaron’s, otherwise I too might have succumbed to hopelessness and fear. A few years ago, I started rebuilding my life overseas, and I find a quantum of solace in the thought that my residence abroad makes it a little more difficult to be served.
While the US legal system strives for justice, the rules of the system create an asymmetric war that favors those with resources. By and far one of the most effective methods to force a conclusion, right or wrong, against a small player is to simply bleed them of resources and the will to fight through pre-trial antics. Your entire life feels like it is under an electron microscope, every tiny blemish magnified into a pitched battle of motions, counter-motions, discovery, subpoenas and affidavits, with each action heaping tens of thousands of dollars onto your legal bill. Your friends, co-workers, employers, and family are drawn into this circus of humiliation as witnesses. Worse yet, you are counseled not to speak your candid thoughts to anyone, lest they be summoned as a witness against you. Isolated and afraid, it eventually makes more sense to roll over and settle than to take the risk of losing on a technicality versus a better-funded adversary, regardless of the justice.
The US government is by and far the most well-funded and fearsome enemy to spar with, and copyright law has some unusually large, if not cruel, penalties associated with it. I don’t know Aaron personally, but I feel the magnitude of the bullying he was subjected to is reflected by his decision to end his life. I echo Larry Lessig’s notion that the legal system in the US needs a sense of shame. At least to an outsider like me, it seems like some prosecutors in the US government are obsessed with making a big name for themselves. Winning cases gets them the recognition and credibility needed for promotions and assignments to ever higher profile cases. It’s not about justice, it’s about victory.
This system of incentives, I feel, contributes to the shameless bullying of individuals and small entities with enough guts to stand up and to do something a little daring. Individuals are robbed of the will and strength to fight for what they feel is right, as the mere act of prosecution can be as much a punishment as the verdict. As a result, I fear the era of civil disobedience may be coming to a close.
What has America become?
The Factory Floor, Part 3 of 4:Industrial Design for Startups
The geek tour continues on. Akiba has new posts up covering our visit to a motor factory, Huawei, CTS, and also a side trip to get full custom clothes and bags tailor made. The photos from the motor factory and the custom tailoring expedition came out particularly well.
And now, on to part 3 of 4 of “The Factory Floor” series…
Industrial Design for Startups:
Guerrilla Engineering on a Shoestring Budget
Sex sells. The performance of a CPU or amount of RAM in a box, to within a factor of two or so, is less important to a typical consumer than how the device looks. Apple devices command a hefty premium in part because of their slick industrial design, and many product designers aim to emulate the success of Sir Jony Ives in their own products.
There are many schools of thought in industrial design. One school invokes the monastic designer, coming up with a beautiful, pure concept, and the only thing the production engineers can do is spoil the purity of the design. Another school invokes the pragmatist designer, working closely with the production engineers, hammering out gritty compromises to produce an inexpensive and high-yielding design.
In my experience, neither extreme is compelling. The monastic approach often results in an unmanufacturable product that is either late to market or exorbitant to produce. The pragmatist approach often results in in a cheap look and feel, to which consumers have trouble assigning a significant value. The real trick is understanding how to strike a balance between the two.
Trim and finish are difficult, and therefore a point of distinction when it comes to design. The current design fad is minimalism, with an emphasis on “honest” finishes. An honest finish features the natural properties of the material systems in play, and eschews the use of paints and decals. Minimalist, honest designs are very hard to manufacture. Minimal designs have…well, minimal, features – and as a result even tiny blemishes stand out. Honest finishes likewise can be very difficult, as an honest finish means no paint: all the burs, gates, sinks, knits, scoring and flow lines that are a fact of life in manufacturing are laid naked before the consumer. As a result, this school of design requires well-made tools that are constantly checked and maintained throughout production.
If you don’t have pockets deep enough to invest in new equipment and capabilities on behalf of your factory (i.e., if you’re not a Fortune 500 company), the first step is to learn the vocabulary available. A design vocabulary is defined by the capabilities of the factory or factories producing the goods. What materials, what finish, what tolerances are achievable, what fastening technology is available – these are all heavily dependent upon the processes available.
Therefore, I find that visiting a factory in person early in the design process results in a better design result. In a factory visit, some design vocabulary will be discarded, but some new vocabulary will be discovered as well – the engineers who work the factory day in and day out develop process innovations that can open up novel design possibilities that are not knowable without the on-site visit.
The chumby One contains a concrete example of the impact manufacturing process can have on design outcome. In the original concept art, the blue highlight around the front edge was added to evoke the feeling of a speech balloon, like those used in captioning comics – the idea being the chumby is captioning your world with snippets from the Internet.
It turns out the implementation of such a blue trim across a raised surface is very hard. At the first factory, we implemented the highlight using paint. Silk screening was not an option because the shape wasn’t flat enough. Pad printing can handle curved surfaces, but the alignment wasn’t good enough, as the tiniest bleed over the edge looked terrible from the side. Decals and stickers likewise could not achieve the alignment required. In the end, a small channel had to be carved to contain the paint, and a stencil plus spray paint process was employed to create the highlight. The yield was terrible – in some lots, over 40% of the cases were being thrown away due to painting errors. Fortunately, plastic is cheap, so throwing away every other case after painting had a net cost impact of about $0.35.
Mid-way through production, we migrated to a second source facility. They had a different plastic molding capability, and unlike the first factory, the second facility could do double-shot molds. Double-shot molds have twice the number of tools, but they can injection mold two different colors, or even different materials, into the same mold. Thus, at the new factory, we opted to use a double-shot process for the thin blue strip, instead of painting. The results were stunning. Every unit came off the line with a sharp, crisp blue line; and no paint meant a more honest, clean finish. However, the cost per case jumped to $0.94 a piece due to the more expensive process, despite the 100% yield. In fact, it would be cheaper to throw away more than half of the painted cases, but even the best painted cases could not compare to the quality of the finish delivered by the double-shot tool.
Another great example of how tweaking a factory process can improve a product’s appearance is the Arduino motherboard. The wonderfully detailed artwork on the back side, sporting an outline of Italy and very fine lettering, isn’t silkscreen. They actually put on two layers of soldermask, one blue, and one white. Because soldermask is applied using a photolithographic process, the resolution, consistency and alignment of the artwork is much better than a silkscreen. And since an Arduino’s look is the circuit board, it gives the product a distinctive high-quality look that is difficult to copy using conventional processing methods.
Thus, the process capability of the factory – painting vs. double-shot molding, double soldermasking vs. silkscreening – can have a real effect in the outcome of a product’s perceived quality, without a huge impact on cost. However, a factory may not appreciate the full potential of their processes, and so it requires a designer’s direct interaction to realize the potential. Unfortunately, many designers don’t visit a factory until something has gone wrong, at which point the tools are cut and even if they see a cool process that could solve all their problems, it’s often too late.
Design is an intensely personal activity, and as a result every designer will develop their own process. This is the general process I might use to develop a product on a tight, startup budget:
1. Every design starts with a sketchbook. First, decide on the soul and identity of the design, and pick a material system and vocabulary that suits your concept. But don’t fall in love with it…
2. Break the design down by material system, and identify a factory capable of producing each material system.
3. Visit the facility, and take note of what is actually running down the production lines. Don’t get too drawn in by the sample room or one-off bits. Practice makes perfect, and from the operators to the engineers they will do a better job of executing things they are doing on a daily basis than reaching deep and exercising an arcane capability.
4. Re-evaluate the design based on a new understanding of what’s possible, and iterate. This may require going back to step 1, or it may just require small tweaks. But this is the stage at which it’s easiest to make compromises without sacrificing the purity of the design.
5. Rough out the details of the design – pick parting lines, sliding surfaces, finishes, fastening systems, etc. based upon what the factory can do best.
6. Pass a revised drawing to the factory, and work with them to finalize details such as draft angles, fastening surfaces, internal ribbing, etc.
7. Validate the design using a 3D print and extensive 3D model checks.
8. Identify features prone to tolerance errors, and trim the initial tool so that the tolerance favors “tool-safe” modifications. For example, in injection molding it is easier to remove steel than to add it to a tool, so target the initial test shot to have less plastic than too much on critical dimensions. A button is an example of a mechanism that benefits from tuning: it’s hard to predict from CAD or 3D prints exactly how a button will feel, and getting that tactile feel just perfect usually requires a little trimming of the tool.
January 13, 2013
The Factory Floor, Part 2 of 4:On Design for Manufacturing
Akiba has new posts covering day 3 and day 4 of my “geek tour” course for MIT Media Lab students, held in Shenzhen, China. His website has been a little bogged down with traffic, so we’re thinking about migrating to a different server. Unfortunately, being inside the GFW (the Great Firewall of China) makes administering anything in the cloud a challenge.
Anyways, here’s the second installment of my four-part series titled “The Factory Floor”.
Process optimization: design for manufacturing and test jigs
It’s time to visit the topic of yield. This is a boring subject for many engineers, but for entrepreneurs, success or failure will be determined in part by achieving a reasonable yield. Unlike software, every copy of a physical good will have slight imperfections. Sometimes the imperfections will cancel out; and sometimes the imperfections gang up and degrade performance. As production volume ramps, these corner cases start adding up and a certain fraction of product ends up non-salable. In a robust design, the failing fraction may be so small that functional tests can be simplified, leading to further cost reductions. In contrast, designs sensitive to component tolerances will require extensive testing, and will suffer heavy yield losses. Reworking the defective units incurs extra labor and parts charges, ultimately leading to profit erosion.
Thus, a major challenge of moving from the engineering bench to mass production is re-designing to improve robustness in the face of normal manufacturing tolerances. This is called “design for manufacturing”, or DFM.
Examples of tolerances to consider during the design process include:
Passive component tolerances (i.e. resistance +/- 5%, capacitance +80/-20%, etc.)
Spec sheet parameters that vary widely (such as hFE for bipolar transistors, Vt for FETs, Vf for LEDs). Always read the datasheet and keep an eye out for parameters that have a wide min-max spread. For example, the min-max on hFE for Fairchild’s 2N3904, ranges from 40 to 300, and the Vf on a superbright LED from Kingbright goes between 2 and 2.5V.
Voltage margins – particularly important for capacitors and input networks. As a rule of thumb, I try to spec capacitors with 2x headroom over nominal voltage, so I will try to use 10V caps for 5V rails and 6.3V caps for 3.3V rails. For example, many ceramic capacitor dielectrics reduce or derate their capacitance with increasing voltage. This means that ceramic capacitors in designs operating near their rated max voltage will see all the operating capacitances cornering toward the negative end of their tolerance range. Also, input networks – anything a user can plug something into – are subject to punishing ESD and other transient abuses, and special attention needs to be paid there to achieve the desired reliability.
PCB trace widths and layer stack variations – impacts systems requiring matched impedance, or dealing with high currents.
Mechanical tolerances – a case designed to fit a PCB with zero tolerance will result in the factory forcing PCBs into the case half the time, when either the PCB was cut a little large or the case came out a little small. This can lead to unintentional mechanical damage of the circuitry or the case.
Cosmetic blemishes – any manufactured product is subject to small blemishes, such as dust trapped in plastics, small scratches, sink marks, and abrasions. It’s important to work out the acceptance criteria for such defects ahead of time – i.e., not more than two dot blemishes larger than 0.2mm per unit, no scratch longer than 0.3mm, etc. so that the process can be crafted to avoid such defects, as opposed to the more expensive alternative of just building units and throwing away the ones that don’t meet a set of criteria imposed late in the game. Of course, nothing comes for free – to do things on the cheap, avoid high-gloss finishes and consider using matte/textured finishes that naturally hide blemishes.
DFM Improves the Bottom Line
Let’s return to our LED blinker case study from part 1 of the series. Let’s say the prototype design calls for an array of three LEDs in parallel, each with its own current-set resistor. As noted above, Vf , the forward bias voltage of an LED at a given brightness, can vary by perhaps 20% between devices – in this case, from 2.0 to 2.5V. A design that uses resistive current limiting will amplify this variation. This is because an efficient circuit would drop a minority of the voltage across the current limiting resistor, leaving the parameter that sets the current – the voltage drop across the resistor – more sensitive to the variation in Vf. Since the brightness of an LED is proportional to the current flowing through the LED – not the voltage – the use of resistive current limiting to set LED brightness can lead to jarring inconsistencies in LED brightness uniformity.
The above chart illustrates how a 20% LED Vf variation leads to a 40% change in the voltage across a current-set resistor for a fixed 3.3V supply, which will in turn lead to a 40% change in the current flowing through the LED, finally manifesting as a 40% change in perceived brightness.
Such a design may work well most the time – the problem is only pronounced when by chance a high Vf unit is paired with a low Vf unit. So for the one or two units prepared on the lab bench, things looked great.. However, a meaningful fraction of units may have brightness uniformities so bad there is choice but to reject the units. Given that most large hardware businesses have to survive on lean margins, losing even 10% of finished goods to defectivity is a terrible outcome.
One stop gap is to re-work the failed material. A factory can identify the LED that is too dim or too bright in an array, and replace it with a new one that may have a better chance of matching its cohorts. However, this rework drives up costs, and results in an unexpected and unpleasant invoice at the 11th hour of a manufacturing program. Naïve designers may be inclined to blame the factory for poor quality and argue over who should bear the cost, but it’s better to proactively avoid these kinds of problems by subjecting every design to a DFM check, and using a small pilot run to sanity-check yield before punching out a whole bunch of units.
The cost of yield fallout quantifies how much money to spend on extra circuitry to compensate for normal component variability. For example, a $10 COGS product that is yielding 80% good units has an effective cost per salable unit of $12.5 (calculated using COGS x total units built / yielded units). Therefore, increasing the COGS by $2.5 to improve yield to 100% breaks even, and spending $1 to improve yield to 99% improves the bottom line by $1.38.
In the case of the LED flasher, the dollar could be spent on a current-feedback boost regulator IC, allowing the LEDs to be stacked in series instead of parallel, so that each LED is guaranteed to have a consistent and identical amount of current flowing through them, thereby leading to greatly improved lighting uniformity. While the cost of the boost regulator is much greater than the penny spent on three current limiting LEDs, the improvement in manufacturing yield more than pays for the extra component costs.
Test for Success
The other often-neglected responsibility of a designer is the test program. A factory can only detect the problems they are instructed to look for. Therefore, every feature must be tested, no matter how trivial. For example, on a chumby device, every user-facing feature had an explicit factory test – LCD, touchscreen, audio, microphone, all the expansion ports (USB, audio), battery, buttons, knobs, etc. etc. Even the simplest buttons had to be tested. While it’s tempting to skip testing such simple components, I guarantee if it’s not tested, it will lead to returns.
And no, do not outsource the test program to the factory, even if they offer the service. First of all, the factory often doesn’t understand your design intent, so their test programs will either be inefficient, or they will test for the entirely wrong behavior. Also, factories have an incentive to pass as much material as possible, as quickly as possible, so factory-created test programs tend to be primitive and inadequate.
As a rule of thumb, for every product you make, you’re actually making two related products: one for the end user, and a test for the factory. In many ways, the test for the factory has to be as user-friendly and foolproof as the product itself – after all, tests are not run by electrical engineers. However, the related testing product will be much quicker and faster to build if adequate testability features are designed into the consumer product.
Here are some guidelines when it comes to designing a test program:
Strive for 100% feature coverage. It’s often easy to overlook simple or secondary features – status LEDs, an internal voltage sensor, etc. As a sanity check, look at the device and list every way a consumer can interact with the device. Ask if the test program addresses every interaction surface, if even superficially – is every LED lit, every button pressed, every sensor stimulated and every memory device touched. If the product has a microcontroller, it’s also helpful to review which drivers are loaded to cross-check the test list. Finally, do a schematic review and look at every port and consider key internal nodes to monitor as part of the test.
Minimize incremental setup effort. In other words, optimize the amount of time required to set up the test for each unit. This is often done through jigs that employ pogo pins or pre-aligned connector arrays. A test that requires an operator to manually probe test a dozen test points or insert a dozen connectors is time consuming and prone to manual error. Most factories in China can help design the jig for a nominal cost, but jig design is easier and more effective if the design is provisioned with adequate test points.
Automate test execution in a linear execution flow. Ideally, a test just run with a single button press, and then produce a pass/fail result. In practice, there will always be stop points that require operator intervention. An example of too much intervention is requiring an operator to key in or select an SSID from a list every time during a test for wifi connectivity. Instead, fix the test target SSID and hard-code that value into the test script so that the connection cycle is automatic.
Use icons and colors to communicate with operators, not text. Not every operator is guaranteed to be literate in a given language.
Employ audit logs. Record test results correlated to device serial numbers by incorporating a barcode scanner into the test rig. An alternative is to create a “test coupon” or a locally stored audit log to prove which units have had the test run successfully. This gives some hints as to what went wrong when a consumer returns a failed product. It also gives a quick method to check that the test procedure is being executed on all products. After an eight-hour shift of running test, an operator is prone to making mistakes, such as putting a defective unit accidentally into the good units’ bin. Having a quick way to check that every product that ships has been subjected to and passed the full test can help identify and isolate such problems.
Provide an easy update mechanism. Like any program, test programs also have bugs, and tests also need to evolve as the product has patches and upgrades applied . Thus it is imperative to have a mechanism to update and fix test programs without having to visit the factory every time in person. Many of my test fixtures have a mode where they can “phone home” via a VPN where I can then ssh into the jig itself to fix bugs: even my simplest jigs employ a linux laptop at its core.
The guidelines above are easy to implement if the product is designed with testability in mind. As most of the products I design run Linux, I leverage the processor inside the product itself to run the majority of the tests and manage the test UI. For products that lack user interaction surfaces, I will use an Android phone or a laptop connected via wifi or serial as the test UI.
Testing vs. Validation
Production tests are meant to check for assembly errors, not parametric variations or design issues. If a test is screening out devices because of normal parametric component variations, either buy better components, or re-do the design.
For consumer-grade products, there is no need to run a five minute comprehensive RAM test on every unit – in theory, a product should be designed well enough that if it’s all soldered together correctly, the RAM will do its job. A quick test to check that there are no stuck or open address pins is all that is really need. Name-brand chip vendors have typically very low defectivity rates, so we’re not validating the silicon; rather, we are validating the solder joints, connectors, and checking for missing or swapped components (note that if you buy clone chips or off-brand/remarked/partially tested devices to cut costs, it is advised to make a mini-validation program for those components).
To illustrate the point, let’s consider testing vs. validation for a switch.
A production test for a switch on a product may simply consist of asking the operator to hit the switch a few times and verify that the feel is right, and verify that electrical contact is made through a simple digital indicator.
A validation test for a switch may consist of taking a few devices, measuring contact resistance with a five-digit multimeter, subjecting them to 100% humidity at 40C overnight, and then putting the devices into an automated jig where the switches are cycled ten thousand times. Finally, the switches are re-measured with a five-digit multimeter and any degradation in close-state contact resistance is noted.
Clearly, this level of validation cannot be performed on every device manufactured. Rather, the validation program checks for performance of the switch over the expected lifetime of the product, and the test just makes sure the switch is put together right. Note that it is considered good practice to re-run validation tests on a couple randomly sampled units out of every several thousand units produced; there are formulas and tables to compute how much sampling is needed to achieve a certain level of quality.
So how much testing is enough testing? One threshold for testing can be derived through a cost argument. Every additional test run incurs test equipment costs, engineering costs, and the variable cost of the test time. As a result, testing is subject to diminishing returns: at some point, it’s cheaper just to take a product return than to test more. Naturally, the testing bar is much higher for medical or industrial grade equipment, as the liability associated with faulty equipment is also much higher. Likewise, a novelty product meant to be given away may get away with much less testing.
As a final thought, don’t dismiss the value of applying solid engineering to test jig design. I once had a problem once where a flat flex cable adapter with 50 pins had random cold solder joint failures. I asked the factory to build a test to validate the adapters. Their solution was to hang LEDs off of every pin of the adapter and put a test voltage into one side, and look for LEDs that don’t light up on the other side. The problem is that the cold solder joints weren’t simply open or closed – some were just high resistance. Enough current would flow to light an LED, yet enough resistance would be present to cause a fault in the design. After I noted this problem, the factory proposed buying 50 multimeters and hanging them off of every pin to check the resistance manually – an expensive and error-prone proposition. My response was to daisy-chain the connections across the adapter, and then use a single multimeter to check the net resistance of the daisy chain. Putting the connections in series checks all 50 connections with a single numeric measurement (as opposed to the subjective observation of an LED’s brightness). As one can see, even a test as simple as checking for cold solder joints on a cable adapter can have better or worse implementations. As ever more complicated components require ever more subtle tests, there is real value in applying solid engineering skills to crafting efficient yet foolproof tests.
January 9, 2013
Updates from the Tour in China
Akiba is providing a running commentary of the MIT Media Lab IAP China immersion experience. If you’re curious about it, check it out. So far he has day 1 and day 2 up.
Above is a photo of Colman Lee, a mechanical designer from AQS, lecturing the students about some of the more subtle aspects of mold and tool design. AQS is my go-to manufacturing services partner / general problem solving crew, and they helped with many of the local arrangements for the trip. Below is a group photo at Colinda, our first stop on the tour where we got to take a look inside the Onyx Geiger counter injection molding tool.
January 5, 2013
The Factory Floor, Part 1 of 4:The Quotation (or, How to Make a BOM)
This month, I will be teaching a few MIT Media Lab graduate students and doing a bit of a “geek tour” of Shenzhen – we will visit several factories and live among the electronic markets to facilitate new directions and expand horizons in the students’ hardware-oriented research projects.
As part of the course, they will learn how to scale up their research utilizing the China manufacturing ecosystem. These lessons may also be useful for Makers looking to bootstrap a product in moderate volumes (hundreds to thousands of units). I will share some tips and insights from the course in four posts over the next month covering:
Getting a quotation: documentation standards (how to make a BOM)
Process optimization: design for manufacturing and test jigs
Industrial design for startups: guerrilla engineering on a shoestring budget
How to pick a factory: building and maintaining partnerships
Part 1 of 4: The Quotation (or, How to Make a BOM)
Most Makers trying to scale up quickly realize the only practical path forward is to outsource production. If only outsourcing were as easy as schematic + cash = product! Whether working with the assembly shop down the street or going to China, a clear and complete bill of materials (BOM) is the first step to outsourcing production.
Every single assumption, down to the color of the soldermask, has to be spelled out unambiguously for a third party to faithfully reproduce a design. Missing or incomplete documentation is the lead cause of production delays, defects, and cost overruns. So, we will start the series on the topic of making a complete and accurate BOM for quotation.
Let’s consider a simple case study. Suppose we Kickstarted a bicycle safety light. It contains a circuit using the 555 timer to flash a small array of LEDs. After a great marketing campaign, we now have to fill several hundred orders in a few months’ time.
At this point, here’s how the starting BOM might look:
This BOM, along with a schematic, is likely sufficient for an engineer to reproduce the prototype, but this is far from adequate for a manufacturing cost quotation. Here’s some of the things missing from the BOM:
Approved manufacturer for each component
Tolerance, material composition, and voltage spec for passive components
Package type information for all parts
Extended part numbers specific to each manufacturer
Furthermore, the table above addresses only the electronics BOM. A complete BOM for an LED flasher also needs to include the PCB, battery, plastic case pieces, lens, screws, any labeling (for example, a serial number), a manual, and packaging (plastic bag plus cardboard box, for example). There may also need to be a master carton as a single boxed LED flasher is too small to ship on its own. Although cardboard boxes are cheap, they aren’t free, and if they aren’t ordered on time, inventory will sit on the dock until a master carton is delivered for final pack-out prior to shipment.
Here’s a little more about each of the missing items from the example BOM.
Approved manufacturers
A proper factory will require the allowed manufacture(s) to be specified for every part. This is frequently referred to as the “AVL”, or Approved Vendor List. A manufacturer is not a distributor (i.e., Digikey, Mouser, Avnet); a manufacturer is the actual company that makes the part. A capacitor, for example, could be made by TDK, Murata, Taiyo Yuden, AVX, Panasonic, Samsung, etc. You’ll be surprised how many times I’ve reviewed a BOM listing “Digikey” or some other distributor as the manufacturer for a part.
While it may seem silly to trifle over who makes a capacitor, there are definitely situations in which the maker of a component matters – even for the humble capacitor. For example, blindly substituting the filter capacitors on a switching regulator, even if the substitute has the same rated capacitance and voltage, can lead to unstable operation and even boards catching fire.
Of course, there are times when one is truly insensitive to the manufacturer, in which case I would mark on the BOM “any/open” for the AVL (particularly true for things like pull-up resistors). This invites the factory to suggest their preferred supplier on your behalf.
Tolerance, composition, and voltage spec
For passive components that are marked as “any/open”, there are some key parameters that should always be specified in a BOM to ensure the right part is purchased:
For resistors, at a minimum the tolerance and wattage should be specified. A 1k, 1% 1/4W carbon resistor is very different beast from a 1k, 5% 1W wirewound resistor!
For capacitors, at a minimum the tolerance, voltage rating, and dielectric type should be specified. For special applications, certain parameters such as ESR or ripple current tolerance also need to be specified. A 10uF, electrolytic, 10% 50V capacitor has vastly different performance at high frequencies compared to a 10uF, X7R [ceramic], 20% 16V capacitor.
Inductors are sufficiently specialized that it’s not recommended to ever leave them as “any/open”. For power inductors, core composition, DCR, saturation, temperature rise current, are the basic parameters, but there is also no standard for casing like there is for resistors and capacitors. Furthermore, important parameters such as shielding and potting, which can have material impacts on the performance of a circuit, are often implicit in a part number; hence, it’s best to simply fully specify the inductor and not leave it any/open. The same goes for RF inductors.
Electronic component form factor
It’s always important to fully specify the form factor, or “package type”, of a component. Poorly specified or under-specified package parameters can lead to assembly errors. Beyond the basic parameters such as the EIA or JEDEC package code (0402, 0805, TSSOP, etc.), here are some other things to consider:
For SMT packages, the height of a component can vary, particularly for packages larger than 1206, or inductors. Pay attention if the board is slotting into a tight case.
For through-hole packages, lead pitch and component height should always be specified.
For ICs, try to specify the common name that corresponds to the package, not just the manufacturer’s internal code (for example, a TI “DW” type package code corresponds to SOIC). It’s a good consistency check that can guard against errors.
Extended part numbers
Designers often think using abbreviated part numbers. A great example of this is the 7404. The venerable 7404 is a hex inverter, and has been in service for decades. Because of its ubiquity, the term “7404” can be used as a generic term for an inverter. However, when going to production, things like the package type, manufacturer and logic family must be specified. A complete part number might be 74VHCT04AMTC, which specifies an inverter made by Fairchild Semiconductor, from the “VHCT” series, in a TSSOP package, shipped in tubes. The extra characters are very important, because small variations can lead to big problems, such as quoting and ordering the wrong packaged device (and subsequently being stuck with a reel of unusable parts), or subtle reliability problems. In fact, I encountered a problem once due to a mistaken substitution of a “VHC” for the “VHCT” logic family part. This switched the input thresholds of the inverter from TTL to CMOS logic-compatible, and resulted in some units having an asymmetric response to input signals. Fortunately, I caught this problem before production ramped, avoiding a whole lot of potential rework or worse yet, returns.
Here’s another example of how missing a couple of characters can cost thousands of dollars. A fully specified part number for the LM3670 switching regulator might be LM3670MFX-3.3/NOPB. Significantly, if the /NOPB is omitted, the part number is still valid and orderable – but for a version that uses leaded solder. This could be disastrous for products exporting to a region, such as the EU, that requires RoHS compliance (meaning lead-free, among other things). A more subtle issue is the “X” in the part number. Part numbers with an “X” come with 3,000 pieces to a reel, and ones lacking an “X” come in 1,000 pieces to a reel. While many factories will question the /NOPB omission (since factories typically assemble RoHS documentation as they purchase parts), they will rarely flag the reel quantity as an issue. However, you care about the reel quantity because if you only wanted 1,000 pieces, including the X in the part number means you’ll be paying for 2,000 extra pieces you don’t need. Or, if you’re doing a much larger production run and you omit the X, you could be paying a premium for shipping three times the volume of reels for the same purchase quantity. Either way, the factory will quote the part exactly as specified, and you could be missing out on a cost savings if you’re not paying attention to the reel quantities.
The bottom line is that every digit and character counts, and lack of attention to detail can cost real money!
BOM Revisited
Here’s an example of how a proper, fully-specified BOM for quotation of the same project example above would look.

(click for a larger version, or get the original in open office format here)
Note that the BOM above doesn’t call out factory margin, labor for assembly, pack-out, shipping, duties, etc. These “soft costs” will be discussed in the final post of the series. However, it’s important to note that when building a business model, parts cost is not the only cost to consider — the above BOM just gets you started with the initial quotation process.
Let’s compare this to our original BOM for contrast:
There is big difference between a BOM that any engineer could take to produce a prototype, and a BOM that any factory could take to mass-produce a product.
Note that two additional columns have crept into the final BOM, the “MOQ” (minimum order quantity) and the “lead time”. These columns are irrelevant when building low-volume prototypes, as one would typically buy parts from distributors which have few MOQ restrictions and maintain stock on hand for next-day deliveries. However, when scaling into production, a big cost savings are realized by cutting the distributor overhead and buying through wholesale channels. In wholesale channels, MOQs and lead times matter.
The good news is the factory will fill in the MOQ and lead time as part of the quotation process. However, these are parameters that are helpful to be tracked from the beginning of a design. If the MOQ of a particular component is very high, one may have to buy massive numbers of excess parts which increases the effective price of the project. If the lead time of a part is very long, one may want to consider redesigning for a part with a shorter lead time. Using parts with shorter lead times not only saves time, it improves cash flow, as the last thing anyone wants to do is tie up cash on long-lead components 4 months in advance of any sales revenue.
Also note the inclusion of all the “miscellaneous” bits for the design inside the BOM, left out on the engineering prototype’s BOM. The miscellaneous bits are easy to forget, but a missing user manual in an initial BOM is often times not discovered until opening the final sample for approval, leading to a last-minute scramble to get it into the final product. Many, many products have been delayed or late simply because a user manual or box art was not completed and approved in time, and it sucks to have a hundred thousand dollars worth of inventory idling in a warehouse for want of a slip of paper.
Finally, it’s best practice to provide the factory with “golden samples” along with CAD files. These prototypes enable the factory to make smarter decisions about any ambiguities in the submitted BOM. It may suck to hand-solder together one more unit just for the factory, but in my opinion a few hours of soldering beats a week of trading clarifying emails with the factory.
Coping with Change
Designs change. Even if a design is perfect, sometimes vendors End-of-Life (EOL) components, forcing a change to the design. And let’s face it, not all design assumptions survive contact with real consumers. While the quotation process is fluid, it’s important to formalize the change process once crossing the threshold into production. It is best practice to use a written, formal Engineering Change Orders (ECO) to update the factory on any changes after the initial quotation is completed. An ECO template should have at a minimum the documentation detailing each part changed and brief explanation of why, along with a unique revision number for conveniently referencing the change down the road, and a method to record the factory’s receipt of the ECO paperwork. Failing to be thorough about ECOs and relying on casual emails will often lead to buyers buying the wrong part, or worse yet the factory installing the wrong part and entire lots being scrapped or reworked. Even after troubleshooting a problem with the factory engineers, I will still write up a formal ECO and submit it to the production staff to formalize the findings. I hate paperwork as much as the next engineer, but in production one small mistake can cost tens of thousands of dollars, and that thought keeps me disciplined on ECOs.
Stay tuned for next week when I cover design for manufacturing and test jigs.
Andrew Huang's Blog
- Andrew Huang's profile
- 32 followers

