The jet powered maple seed (new patent)

In 1992, Litos et al. patented their bio-mimic throw-in-the-air toy called the ‘Autorotative Flyer’. It might not occur to everyone that the passive toy could be updated, and militarized, with the addition of a supersonic jet pack. But occur it did to high-tech weapons manufacturer Lockheed Martin Inc. which has just received a US patent for its Active Maple Seed Flyer.


JetPowerMapleSeed


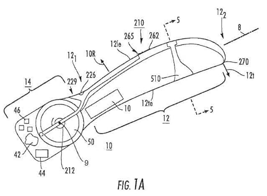
The flying jet-seed, which can be used for transporting a miniature video camera for remote surveillance purposes, can also eject an (unspecified) ‘payload object’ on demand. The (unspecified) ‘payload object’ carries an adhesive causing it to stick to surfaces when it lands.


The remote-controlled, 10 gram, 3.5 cm long vehicle can fly for 20 minutes or so, and spins 250 times per second thanks to its supersonic jet thruster. Onboard (or offboard) electronics can de-spin the resulting images says the patent. For the convenience of the human-in-the-loop the seeds come in a blister-pack of 5 or more.


Bonus question: Is this the first time that a children’s toy has has been adapted to form a military device – rather than the other way around ?


 •  0 comments  •  flag
Share on Twitter
Published on February 09, 2015 06:34
No comments have been added yet.


Marc Abrahams's Blog

Marc Abrahams
Marc Abrahams isn't a Goodreads Author (yet), but they do have a blog, so here are some recent posts imported from their feed.
Follow Marc Abrahams's blog with rss.