Marc Abrahams's Blog, page 381
September 1, 2014
The man who lost his leg and gained a floor lamp
NRC Reader reports [in Dutch, auto-translated here into English]:
I Wanted a Floor Lamp
The right leg of Leo Bonten broke after a stupid accident. There was an infection, it was off. But Leo wanted to keep his leg per se. To make a lamp out of it.
That would be the final steps of his right leg thereof Leo Bonten was unaware. That in his living room a lamp containing his right leg would be two years later was at the time not at all through him….
Who is the owner of an amputated limb? That is legally a gray area. An amputated body part is officially “specific hospital” and is taken to a processing plant. Any other use than throw falls under the Law on Medical Treatment Agreement. It says that human tissue for research should be there if the patient does not object used, but also implies that if the patient consents almost anything may happen to the body.
Leo filed a request at the Erasmus MC in Rotterdam to get after the surgery. Leg back They were not immediately convinced of the plan. There were practical objections.…
Here are photos (by Stefanie Gratz, for NRC Reader) of the lamp, and of its owner, and of the doctor:
Frank van de Goot is the pathologist who preserved the leg. Willem Schaperkotter designed the lamp.
Thanks to Dr. Erwin Kompanje for bringing this to our attention. Dr. Kompanje will discuss the ethics of this, on the television program Studio Erasmus, on September 9. The man who made the lamp will also be on that program.
BONUS: An interview with Leo Bonten, about his lamp:

The ‘Infant Mannequin’ (new patent)
“Babies capture the hearts and minds of those that surround them during their stages of development, but grow so quickly that their family may not have time to fully enjoy these times.”
A possible solution to this conundrum is presented in an invention which has just received a US patent (Aug 2014). The patent describes a robotic ‘Infant Mannequin’ which comprises :
“ [...] an infant head form with two eye members, a nose member, a mouth aperture having two lips, and a head form having a facial image of a specific human infant. The system comprises an infant body form, a skeletal structure, a muscular structure, a skin covering, and a hair receptacle system located on the head form. The system comprises an abdomen compression diaphragm located underneath the skin covering.”
The patent-document follows convention by listing the ‘claims’ of the invention – in other words the aspects which are new and which differentiate it from previous ‘prior art’. In this case there are just two claims, but they are quite comprehensive, and, unusually perhaps, are presented in the form of two (rather long) sentences, which for readers’ convenience, we reproduce below . . .
What is claimed is:
1. A novel infant mannequin system (100) for documenting features of a specific human infant comprising: (a) a humanoid infant head form (200) having a generally spherical, generally bilaterally symmetrical shape about a sagittal plane, wherein the head form (200) comprises two eye members (210) having a form and coloring disposed thereon that generally resemble the specific human infant, wherein the head form (200) comprises a nose member (220) having two apertures disposed therein having a form that generally resembles the specific human infant, wherein the head form (200) comprises a mouth aperture (230) having two lips (240) disposed on an edge thereon having a form that generally resembles the specific human infant, wherein the head form (200) comprises a form that generally resembles the specific human infant, wherein a facial image (250) of the specific human infant is disposed on the head form (200); (b) a humanoid infant body form (300) having a generally bilaterally symmetrical shape about a sagittal plane, wherein the body form (300) comprises a torso (310) having a first leg (320) and a first arm (330) disposed on a torso first side (340) and a second leg (350) and a second arm (360) disposed on a torso second side (370), wherein a first hand (335) is disposed on the first arm (330) and a second hand (365) is disposed on the second arm (360), wherein a first foot (325) is disposed on the first leg (320), wherein a second foot (355) is disposed on the second leg (350), wherein the head form (200) is disposed at a torso top (380), wherein the body form (300) comprises a form that generally resembles the specific human infant; (c) a humanoid skeletal structure (400) having a generally bilaterally symmetrical shape about a sagittal plane, wherein the skeletal structure (400) comprises a plurality of rigid members (410), wherein the rigid member (410) comprises a movable joint (440) disposed thereon, wherein the skeletal structure (400) further comprises a hollow skull member (450), and a hollow torso skeletal member (470), wherein the plurality of rigid members (410) are disposed together via the movable joints (440), wherein the plurality of rigid members (410), the torso skeletal member (470), and the skull member (450) are disposed together via movable joints (440) to comprise the skeletal structure (400) form that resembles the specific human infant; (d) a humanoid muscular structure (500) having a generally bilaterally symmetrical shape about a sagittal plane, wherein the muscular structure (500) comprises a plurality of elastic members (510), wherein the elastic member (510) comprises an elastic member first end (520) and an elastic member second end (530), wherein the elastic member first end (520) is disposed on a rigid member first connection point (420), wherein the elastic member second end (530) is disposed on a rigid member second connection point (430), wherein the plurality of elastic members (510) serve to provide a degree of poseable stiffness to the movable joints (440), wherein the muscular structure (500) comprises a form that resembles the specific human infant; (e) a humanoid skin covering (600) disposed over and fully enveloping the skeletal structure (400) and the muscular structure (500), wherein the skin covering (600) is constructed from a silicone rubber, wherein the skin covering (600) comprises a color, a texture, an elasticity, a thickness, and a form that resembles the specific human infant; (f) a hair receptacle system (700), wherein the hair receptacle system (700) is disposed on the skin covering (600), wherein the hair receptacle system (700) is disposed on the head form (200), wherein the hair receptacle system (700) is for receiving, holding, positioning and displaying a lock of human infant hair, wherein the hair receptacle system (700) comprises the human hair of the specific infant, wherein the hair receptacle system (700) comprises a color, a texture and a form that resembles the specific human infant; (g) an abdomen compression diaphragm (800) disposed on the skeletal structure (400), wherein the abdomen compression diaphragm (800) is disposed underneath the skin covering (600), wherein the abdomen compression diaphragm (800) spans an abdominal cavity front opening (460), wherein the abdomen compression diaphragm (800) is elastically compressible, wherein the abdomen compression diaphragm (800) comprises a form, and a function that resembles the specific human infant; (h) a function simulation system (900) comprising a microprocessor (910), a power source (912), a data port (914) and an activation switch (916) disposed in the torso (310), wherein the microprocessor (910) is operatively connected to the data port (914), and the activation switch (916), wherein the activation switch (916) is operatively connected to the power source (912), wherein the function simulation system (900) further comprises: (i) a heartbeat output simulator (920) disposed in the torso (310), wherein the heartbeat output simulator (920) is disposed underneath the skin covering (600), wherein the heartbeat output simulator (920) is operatively connected to the microprocessor (910), wherein the heartbeat output simulator (920) produces a function of a rhythmic beat in a torso chest area (390) that resembles the specific human infant, (ii) a thermal circulation system (930), wherein a temperature controlled circulation fluid (932) is disposed in a capillary network (934), wherein the capillary network (934) is disposed beneath the skin covering (600), wherein the circulation fluid (932) is propelled through the capillary network (934) via a circulation fluid pump (940) disposed in the torso, wherein the circulation fluid pump (940) is operatively connected to the microprocessor (910), wherein the thermal circulation system (930) further comprises a heater (936) disposed in the torso (310), wherein the heater (936) heats the circulation fluid to a specified value, wherein the heater (936) is operatively connected to the microprocessor (910), wherein the thermal circulation system (930) further comprises a temperature sensor (938) disposed in the torso (310), wherein the temperature sensor (930) monitors the temperature of the circulation fluid (932), wherein the temperature sensor (930) is operatively connected to the microprocessor (910), wherein the thermal circulation system (930) produces a function of a regulated temperature of the skin covering (600) that resembles the specific human infant, (iii) an abdominal expansion system (950) disposed in the torso (310), wherein the abdominal expansion system (950) further comprises an abdominal bladder assembly (952) disposed against and operatively interfacing with the abdomen compression diaphragm (800), wherein the abdominal expansion system (950) further comprises connective tubing (954) fluidly connecting the mouth aperture (230) and the abdominal bladder assembly (952), wherein the abdominal expansion system (950) further comprises an abdominal electric motor (956) disposed in the torso (310), wherein the abdominal electric motor (956) is operatively connected to the microprocessor (910), wherein upon activation of the abdominal electric motor (956) the abdominal bladder assembly (952) rhythmically expands and contracts the abdomen compression diaphragm (800), wherein the abdominal bladder assembly (952) further draws in air through the mouth aperture (230), then alternately expels air through the mouth aperture (230) via the connective tubing (954), wherein the abdominal expansion system (950) produces a function of a moving abdomen and a breathing simulation that resembles the specific human infant, (iv) a sound generator (960) disposed in the torso (310), wherein the sound generator (960) is operatively connected to the microprocessor (910) and comprises a speaker (965), wherein upon activation, the sound generator (960) produces a function of reproducing recorded sounds emulating baby noises that resemble the specific human infant, (i) a body weight distribution member (970), wherein the body weight distribution member (970) is disposed in the skeletal structure (400), wherein the body weight distribution member (970) produces a function of simulating the weight of an infant in an area disposed therein, wherein the body weight distribution member (970) comprises a weight that resembles the specific human infant; wherein the thermal circulation system (930) comprises electrical resistance wire disposed beneath the skin covering (600) operatively connected to the microprocessor (910).
2. A novel infant mannequin system (100) for documenting features of a specific human infant comprising: (a) a humanoid infant head form (200) having a generally spherical, generally bilaterally symmetrical shape about a sagittal plane, wherein the head form (200) comprises two eye members (210) having a form and coloring disposed thereon that generally resemble the specific human infant, wherein the head form (200) comprises a nose member (220) having two apertures disposed therein having a form that generally resembles the specific human infant, wherein the head form (200) comprises a mouth aperture (230) having two lips (240) disposed on an edge thereon having a form that generally resembles the specific human infant, wherein the head form (200) comprises a form that generally resembles the specific human infant, wherein a facial image (250) of the specific human infant is disposed on the head form (200); (b) a humanoid infant body form (300) having a generally bilaterally symmetrical shape about a sagittal plane, wherein the body form (300) comprises a torso (310) having a first leg (320) and a first arm (330) disposed on a torso first side (340) and a second leg (350) and a second arm (360) disposed on a torso second side (370), wherein a first hand (335) is disposed on the first arm (330) and a second hand (365) is disposed on the second arm (360), wherein a first foot (325) is disposed on the first leg (320), wherein a second foot (355) is disposed on the second leg (350), wherein the head form (200) is disposed at a torso top (380), wherein the body form (300) comprises a form that generally resembles the specific human infant; (c) a humanoid skeletal structure (400) having a generally bilaterally symmetrical shape about a sagittal plane, wherein the skeletal structure (400) comprises a plurality of rigid members (410), wherein the rigid member (410) comprises a movable joint (440) disposed thereon, wherein the skeletal structure (400) further comprises a hollow skull member (450), and a hollow torso skeletal member (470), wherein the plurality of rigid members (410) are disposed together via the movable joints (440), wherein the plurality of rigid members (410), the torso skeletal member (470), and the skull member (450) are disposed together via movable joints (440) to comprise the skeletal structure (400) form that resembles the specific human infant; (d) a humanoid muscular structure (500) having a generally bilaterally symmetrical shape about a sagittal plane, wherein the muscular structure (500) comprises a plurality of elastic members (510), wherein the elastic member (510) comprises an elastic member first end (520) and an elastic member second end (530), wherein the elastic member first end (520) is disposed on a rigid member first connection point (420), wherein the elastic member second end (530) is disposed on a rigid member second connection point (430), wherein the plurality of elastic members (510) serve to provide a degree of poseable stiffness to the movable joints (440), wherein the muscular structure (500) comprises a form that resembles the specific human infant; (e) a humanoid skin covering (600) disposed over and fully enveloping the skeletal structure (400) and the muscular structure (500), wherein the skin covering (600) is constructed from a silicone rubber, wherein the skin covering (600) comprises a color, a texture, an elasticity, a thickness, and a form that resembles the specific human infant; (f) a hair receptacle system (700), wherein the hair receptacle system (700) is disposed on the skin covering (600), wherein the hair receptacle system (700) is disposed on the head form (200), wherein the hair receptacle system (700) is for receiving, holding, positioning and displaying a lock of human infant hair, wherein the hair receptacle system (700) comprises the human hair of the specific infant, wherein the hair receptacle system (700) comprises a color, a texture and a form that resembles the specific human infant; (g) an abdomen compression diaphragm (800) disposed on the skeletal structure (400), wherein the abdomen compression diaphragm (800) is disposed underneath the skin covering (600), wherein the abdomen compression diaphragm (800) spans an abdominal cavity front opening (460), wherein the abdomen compression diaphragm (800) is elastically compressible, wherein the abdomen compression diaphragm (800) comprises a form, and a function that resembles the specific human infant; (h) a function simulation system (900) comprising a microprocessor (910), a power source (912), a data port (914) and an activation switch (916) disposed in the torso (310), wherein the microprocessor (910) is operatively connected to the data port (914), and the activation switch (916), wherein the activation switch (916) is operatively connected to the power source (912), wherein the function simulation system (900) further comprises: (i) a heartbeat output simulator (920) disposed in the torso (310), wherein the heartbeat output simulator (920) is disposed underneath the skin covering (600), wherein the heartbeat output simulator (920) is operatively connected to the microprocessor (910), wherein the heartbeat output simulator (920) produces a function of a rhythmic beat in a torso chest area (390) that resembles the specific human infant, (ii) a thermal circulation system (930), wherein a temperature controlled circulation fluid (932) is disposed in a capillary network (934), wherein the capillary network (934) is disposed beneath the skin covering (600), wherein the circulation fluid (932) is propelled through the capillary network (934) via a circulation fluid pump (940) disposed in the torso, wherein the circulation fluid pump (940) is operatively connected to the microprocessor (910), wherein the thermal circulation system (930) further comprises a heater (936) disposed in the torso (310), wherein the heater (936) heats the circulation fluid to a specified value, wherein the heater (936) is operatively connected to the microprocessor (910), wherein the thermal circulation system (930) further comprises a temperature sensor (938) disposed in the torso (310), wherein the temperature sensor (930) monitors the temperature of the circulation fluid (932), wherein the temperature sensor (930) is operatively connected to the microprocessor (910), wherein the thermal circulation system (930) produces a function of a regulated temperature of the skin covering (600) that resembles the specific human infant, (iii) an abdominal expansion system (950) disposed in the torso (310), wherein the abdominal expansion system (950) further comprises an abdominal bladder assembly (952) disposed against and operatively interfacing with the abdomen compression diaphragm (800), wherein the abdominal expansion system (950) further comprises connective tubing (954) fluidly connecting the mouth aperture (230) and the abdominal bladder assembly (952), wherein the abdominal expansion system (950) further comprises an abdominal electric motor (956) disposed in the torso (310), wherein the abdominal electric motor (956) is operatively connected to the microprocessor (910), wherein upon activation of the abdominal electric motor (956) the abdominal bladder assembly (952) rhythmically expands and contracts the abdomen compression diaphragm (800), wherein the abdominal bladder assembly (952) further draws in air through the mouth aperture (230), then alternately expels air through the mouth aperture (230) via the connective tubing (954), wherein the abdominal expansion system (950) produces a function of a moving abdomen and a breathing simulation that resembles the specific human infant, (iv) a sound generator (960) disposed in the torso (310), wherein the sound generator (960) is operatively connected to the microprocessor (910) and comprises a speaker (965), wherein upon activation, the sound generator (960) produces a function of reproducing recorded sounds emulating baby noises that resemble the specific human infant, (i) a body weight distribution member (970), wherein the body weight distribution member (970) is disposed in the skeletal structure (400), wherein the body weight distribution member (970) produces a function of simulating the weight of an infant in an area disposed therein, wherein the body weight distribution member (970) comprises a weight that resembles the specific human infant; wherein the body weight distribution member (970) is fluid filled.

August 31, 2014
David Liptrot joins the Luxuriant Facial Hair Club for Scientists (LFHCfS)
David Liptrot has joined the Luxuriant Facial Hair Club for Scientists (LFHCfS). He says:
I’m just finishing my PhD in Organometallic Chemistry at the University of Bath. After much urging from my colleagues, I have finally decided to humbly apply for acceptance amongst my hirsute scientific peers. Working in an organometallics lab with many things that like to spontaneously burst into flame, I remain amazed at my beard’s persistence, and have taken to shaving a firebreak into the sides of my head for safety.
I hope this is sufficient — I’m entering the Great British Beard Championships in 2 weeks time, and would hope I would be able to be accepted in time to fly the flag for the LFHCfS.
David Liptrot, LFHCfS
Graduate student, Organometallic Chemistry
University of Bath
Bath, UK

This Is Improbable Too, in the Boston Globe
Kate Tuttle wrote a nice article on “the story behind the new book” — This Is Improbable Too — in today’s Boston Globe. Tuttle mentions that I (the author of the book), have been at this kind of thing for a while:
Abrahams has been publishing his oddball discoveries for a quarter-century now, but his passion is nearly lifelong. “I discovered newspapers when I was really small,” he says. His hometown paper would fill extra column space with “oddball news — one I remember vividly was ‘Man Flushes Toilet, House Explodes’ — I used to cut them out and paste them into a scrapbook.” …
The book has gotten nice reviews in USA Today, and in the Wall Street Journal. And I managed, without trying or wanting to, to shock Bob Edwards near the end of our interview on The Bob Edwards show.
This Friday, September 5, I and several members of the Ig Nobel gang (Robin Abrahams, Gary Dryfoos, Melissa Franklin, Corky White) will do brief dramatic readings from studies that I wrote about in the book. That happens at Harvard Book Store, in Cambridge at 7 p.m. Come join us!
You can get the book from Harvard Bookstore, as well as at most other good bookstores, and also from Amazon and the other mysterious online booksellers.

George Bush explains the disappearance of knickers
Young George Bush explained the disappearance of knickers, in this scholarly study in 1960:
“On the disappearance of knickers: Hypotheses for the functional analysis of the psychology of clothing.” George Bush and Perry London, Journal of Social Psychology, vol. 51, no. 2, 1960, pp. 359-366. The paper begins:
“There are those of us for whom the rustling sound of corduroy has for many years been associated with memories of the almost indestructible kneelength trousers of our childhood. These memories, though not always pleasant…”
BONUS (possibly unrelated): A particular effect of the laundering of knickers

A particular effect of laundering on knickers
Tanya Dann, in completing her studies for a masters degree in clothing and textile science from the University of Otago, wrote this thesis, which has more than a touch of the forensic about it:
“The tearing behaviour and effect of laundering on knicker fabrics,” Tanya Jayne Dann, thesis, Master of Science, University of Otago, 2011. (Thanks to investigator Betsy Devine for bringing this to our attention.)
Dann is now a doctoral student in the zoology department, where she is investigating the life history and distribution of two New Zealand damsefly species.
You might enjoy her blog.
August 30, 2014
Hostility and humor in 45 psychiatric patients in 1956
Donn Byrne probed the delicate psyches of 45 men, in 1956. This study reports what he found:
“The relationship between humor and the expression of hostility,” Donn Byrne [pictured here], Journal of Abnormal and Social Psychology, vol 53(1), July 1956, pp. 84-89. The author explains:
“This study explored the relationships among the expression of hostility in behavior, the extent to which hostile cartoons are judged funny, and the ability to recognize hostility in cartoons. 3 groups of 15 male psychiatric patients each were rated as expressing hostility overtly, covertly, or not at all. They were asked to judge the funniness of 32 cartoons and also to indicate which of the cartoons expressed hostility and which did not. Relationships were found between the expression of hostility and the tendency to judge hostile cartoons as funny, between estimated IQ and the ability to differentiate hostile and non-hostile cartoons, between the expression of hostility and the differentiation of hostile and non-hostile cartoons, and between the tendency to judge hostile cartoons as funny and the ability to differentiate hostile and non-hostile cartoons.”

mini-AIR August issue: Screws, bolts, and so forth
The August issue of mini-AIR (our monthly e-mail newsletter just went out. (mini-AIR is a wee little supplement to the magazine). Topics include:
News about the coming Ig Nobel Prize ceremony & webcast
The BG Bang Limerick Competition
Arm-Wrestling: A Humerus Twist
Screw When Where Limerick Competition
and more
It also has info about upcoming events.
Mel [pictured here] says, “It’s swell.”
mini-AIR is the simplest way to keep informed about Improbable and Ig Nobel news and events.
Want to have mini-AIR e-mailed to you every month? Just add yourself to the mini-AIR list.

August 29, 2014
Their machine will tell if you’re friend or foe, they say
Veritas Scientific Corporation is — well, it must be — the rare company with technology that surpasses the limitations of what scientists understand.
Veritas is all about deception. In the promotional video here, Veritas Scientific’s founder and CEO Eric Fenn Elbot says that he “started reading incredible research about how to detect brain waves to detect deception, and how to use brain waves to go beyond that, to even, perhaps, be able to identify friend from foe.” Therefore, he went into business….
—so begins another Improbable Innovation nugget, which appears in its entirety on BetaBoston.

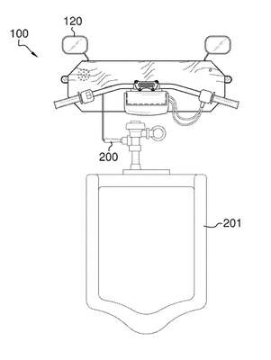
The motorcycle urinal (new patent)
If you sometimes make use of a urinal, and yearn for the sound of revving motorbikes whilst doing so, a new US patent might be aimed at you. Californian inventor Anthony Moley has just received a patent for his “Urinal with operation controlled via a replica of a motorcycle handlebar” The new invention, which provides rearview mirrors, a throttle and a horn is summed up like this :
The urinal with operation controlled via a replica of a motorcycle handlebar is a wall-mounted fixture configured to control the use of the flush valve of said urinal, or toilet, or other plumbing fixture. The replica motorcycle handlebar includes a linkage that runs from the throttle portion of the motorcycle handlebar to the flush valve of said urinal such that upon simulation of a throttling gesture shall pull said flush valve upwardly in order to flush the respective urinal or plumbing fixture. The replica motorcycle handlebar includes a motion sensor that upon detection of a person shall communicate an audio recording of a motorcycle noise. The replica motorcycle handlebar includes mirrors, turn signals, and a horn switch. Throttling motion of the throttle portion may also prompt an additional audio recording of a motorcycle engine being revved.

Marc Abrahams's Blog
- Marc Abrahams's profile
- 14 followers
