Marc Abrahams's Blog, page 552
August 26, 2012
(Re)creating multiple masculinities: Crocket’s Ultimate Frisbee
Some say that over the past 10 years there has been an increasing focus on the complexity and diversity of masculinities produced in sporting contexts. Newly contributing to the literature on this subject is Dr. Hamish Crocket, who is a Sport and Leisure Studies Lecturer at the University of Waikato, New Zealand. In a forthcoming article for the International Review for the Sociology of Sport, Dr. Crocket illustrates his perspective :
“I draw on Foucauldian notions of power and discourse to examine the performances of elite male Ultimate players. Based on a year-long ethnographic study with an elite male Ultimate team, I contribute to this growing body of literature by analyzing the performance of multiple masculinities by players within this team.” [our hyperlink]
Note [1] ‘Ultimate’ in this context refers to Ultimate Frisbee.
See: ‘This is men’s ultimate’: (Re)creating multiple masculinities in elite open Ultimate Frisbee’
Note [2] Also see Dr. Crocket’s 406 page Ultimate Frisbee related doctorial thesis in which he asks : “What forms of problematization and practices of self underpin Ultimate players’ creation of an ethical self through an aesthetics of existence?”
Note [3] Dr. Crocket not only writes about the philosophical and sociological implications of Ultimate Frisbee, he also plays it. A short (possibly unauthorised) biog. can be found here courtesy of the UK-based Kent Ultimate team.

Two Tesla coils perform “Sweet Home Alabama”
Whether you do or do not like the song “Sweet Home Alabama“, you are free to enjoy this performance of it by two Tesla coils. This (other than the composition of the song) is said to be the work of Eric Goodchild of ASU Polytechnic and Steven Caton of UCLA, who do explain a bit about what this is and how it works.
[HT Rose Eveleth]

Likely the most improbable event in human history
Improbable is simply: What you don’t expect. When Neil Armstrong stood on the moon, on August 20, 1969, he disintegrated eons of expectation. Throughout almost all of human history, almost no one, anywhere, ever, expected that anyone would actually, in fact, really travel to the moon. The video below shows the arrival at and on the moon— and also shows how people on earth were anticipating and reacting to it.
Neil Armstrong died yesterday, July 25, 2012. Perhaps more—and more quickly—than anyone, ever, he changed people’s notion of what is improbable.
(HT BoingBoing, which also has lots of related links)
[The first version of this post had a stupid typo: it said the big event happened in August, rather then the correct July. Typos here in our blog are not, alas, entirely unexpected.]

August 25, 2012
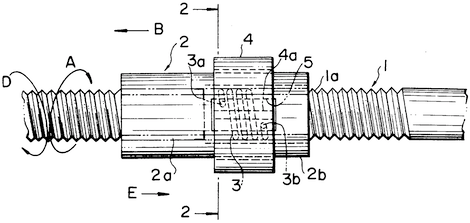
Nut Control Device
Society needs a nut control device. And thanks to Haruo Mochida and Tetsuo Kobayashi, society has one. Here’s the patent:
“Nut Control Device,”Haruo Mochida and Tetsuo Kobayashi, US patent #4345863, issued August 24, 1982.

August 24, 2012
Raymer untangles string-tangling for you
Dorian Raymer explains, in this video, his Ig Nobel Prize-winning research about how and why bunches of string will inevitably become tangled:

Do-It-Yourself Reviewing, Scientificalistically
The Retraction Watch blog tells of a resourceful, if not altogether successful, person. The report begins:
South Korean plant compound researcher faked email addresses so he could review his own studies
Scientists frustrated by the so-called “third reviewer” — the one always asking for additional experiments before recommending acceptance — might be forgiven for having fantasies of being able to review their own papers.
But one Korean scientist, Hyung-In Moon [pictured here], managed to do just that, through what must have seemed like clever subterfuge at the time. And he got away with it for a while — until he didn’t, as witnessed by this retraction notice for “Larvicidal activity of 4-hydroxycoumarin derivatives against Aedes aegypti,” published in Pharmaceutical Biology, an Informa Healthcare title…

August 23, 2012
Joking about accountants – a netnographical approach
Unfairly or not, some have characterised the rôle of accountants in popular culture as dull and boring. And the bottom line is that there is a plentiful stock of jokes about them. But a provisional audit of the scholarly literature reveals that researchers been extremely economical in accruing an inventory of accountancy-humour papers. In fact, historically, formal academic interest in such jokes tends towards zero. Going some way to balance the shortfall is a special 2012 issue of the Accounting, Auditing & Accountability Journal, which carries an article on this very subject. The paper,‘Jokes in popular culture: the characterisation of the accountant’ credited to Senior Lecturer Dr. Frances Miley, and Andrew Read, Lecturer in Accounting, (both at the University of Canberra, Australia,) takes a netnographical approach.
“The purpose of this research is to enhance our understanding of this stereotype by comparing the characterisation of the accountant found in contemporary jokes with a similar characterisation found in commedia dell’arte, which is a form of improvisational theatre.”
It all adds up to the fact that :
“The characterisation of the accountant in contemporary jokes is consistent with characterisations of the accountant in other areas of popular culture, confirming that the stereotype is widely entrenched in popular culture.”
To further further the study of the genre, the authors also maintain a blog called Accounting Jokes ‘The definitive site for humour about all things accounting’, where one can find quite literally dozens, or more, jokes about accountants. (Please note that the site appreciates readers’ contributions towards consolidating the catalogue of new accountancy jokes.)

August 22, 2012
For wound-flashcard enthusiasts
Anyone who enjoys learning descriptions of wounds, and also enjoys playing games, will perhaps enjoy and benefit from the wound flashcards on the Quizlets web site. Here are a few of the items on offer there:
Necrotic Slough
color is tan/yellow in the base of the wound bed, texture is soft and soggy, and is attached only to the base
Necrotic Eschar
color is black/brown leathery apperance,texture is hard, and is attached firmly to the base and edges of wound
Necrotic Fibrinous
color is yellow throughout, texture is soft and stringy, and is attached loosley to wound
Pruritis
itching

August 21, 2012
The ‘Animal Elimination Problem’
Are vegetarians being cruel to animals? In the sense that they might be contributing to the ‘Animal Elimination Problem’ (i.e. as a result of their refusal to eat them, are they denying as yet unborn bred-for-food animals the right to a life)? Such problems have been examined by top-of-his-class (Wabash College, Crawfordsville, Indiana, USA). His latest article : ‘The Chicken and the Bath Water: Exploring a Basic Limit to the Vegetarian Ideal’ (to be published in the journal The Expository Times, September 2012) explains how :
“If animal rights activists were to become successful in spreading their message, thus making vegetarianism the global diet, they would succeed in substantially decreasing the number of animals in the world. In the name of helping animals they would end up bringing far fewer animals into existence.“
More reading from Professor Webb:
‘Against the Gourmands: In Praise of Fast Food as a Form of Fasting‘.
and
‘Theology from the Pet Side Up: A Christian Agenda for NOT Saving the World‘.
Also see (though not from Professor Webb) ‘Mincing vegetarians rather than words‘.

August 20, 2012
Further doses of research about drinking booze
America, a rich source of alcohol, of alcoholics, and of aggressive alcoholics, is also rich in scholarship on those subjects. One must drink deep of that scholarship, in many cases, if one cares about the question: what, exactly, did some of those researchers hope to learn by doing that research? Last week, I wrote about some examples. Here are more.
In a 1999 study called The Effects of a Cumulative Alcohol Dosing Procedure on Laboratory Aggression in Women and Men, Donald Dougherty [pictured here] and colleagues at the University of Texas-Houston medical school report making several discoveries: (1) Both men and women became more aggressive after they drank alcohol; (2) those men and women became even more aggressive “after consuming the second alcoholic drink”; (3) their aggressiveness “remained elevated for several hours” after they finished drinking; and (4) the individuals who were most aggressive when sober were also the most aggressive when drunk….
So begins this week’s Improbable Research column in The Guardian.
BONUS: A headline from yesterday’s US News & World Report: “College Students Who Binge Drink Say They’re Happier“

Marc Abrahams's Blog
- Marc Abrahams's profile
- 14 followers
