Marc Abrahams's Blog, page 545
September 27, 2012
Birds: oiling and de-oiling (patented methods)
“It is estimated …” say Ken Foster and Ralph Brendle in their 2007 US patent “… that a single hunting club or hunting resort may lose over $100,000 a year because of missed hunts due to rainy and damp weather.” The problem which the patent is addressing is primarily that of wet birds. “On wet days, the birds may be prevented from flying due to the moisture matting their feathers down on their wings as well as the excess weight added by the absorption of the water into the feathers. Rainy day hunts may often have to be cancelled due to the fact that these birds cannot fly.“ The solution, according to the inventors, is their : ‘Apparatus and method for waterproofing game birds’which enables the birds to be sprayed with an oil-based ‘waterproofing composition’.
° ° °
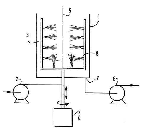
Compare and contrast with US patent 5,493,996, which describes a : ‘Device for automatically cleaning birds’ “The present invention sets out to overcome the disadvantages of the prior art and notably to provide a device, a cage and a highly effective method of cleaning which requires minimum human intervention. The birds [sic] is properly restrained with his head outside of the cleaning zone, which eliminates risks of injury and drowning.“ “ … the cleaning liquid is a mixture of water and cleaning agent in a proportion of 1 to 5% and preferably 3% for cleaning operations and is ordinary clean water for the rinsing operations.” Thus the invention has the capacity to remove oil from birds (game or non-game, previously waterproofed or otherwise).

Ig Nobel program premieres Friday night on France 5 TV
A reminder: Quand la Science Fair Rire, a television program about the Ig Nobel Prizes and Ig Nobel Prize winners, premieres on France 5, on Friday night, September 28.
Produced by Frederic Lepage and directed by Roland Portiche for Paris-based FL Concepts, this and subsequent episodes will later also be shown on public television networks in other countries (in other languages). The series features many Ig winners, as well as Marc Abrahams, founder of the Ig Nobel Prize ceremony, and other Iggy persons around the world.
Episode 1 features French, Dutch, Swedish and American Ig Nobel Prize winners in their natural habitats, and an Ig Nobel visit to the Nobel Museum in Stockholm.
The image below shows Basile Audoly and Sebastien Neukirch of the Université Pierre et Marie Curie, in Paris. Audoly and Neukirch shared the 2006 Ig Nobel Physics Prize for their insights into why, when you bend dry spaghetti, it often breaks into more than two pieces.
BONUS: Meanwhile, across the non-TV Channel, in England (and then Scotland), the grand and glorious, all-star-filled This Is Improbable book tour is about to begin!

September 26, 2012
Election Reminder: Looks Might Matter
As elections near in the USA and elsewhere, it’s time to give a look to the looks of the politicians who will be angling for attention:
“Why Do Better-Looking Members of Congress Receive More Television Coverage?” Israel Waismel-Manora and Yariv Tsfati, Political Communication, Volume 28, Issue 4, 2011. The authors, at the Universityof Haifa, Israel, explain:
“Based on psychological research on the attractiveness effect, this study investigated the role of legislators’ physical attractiveness in shaping the amount of their news coverage. The physical attractiveness of members of the first session of the 110th U.S. Congress was evaluated by non-American college students. Computerized searches in news transcripts archived in Lexis-Nexis were used to determine the number of times each of the representatives appeared on national TV news, radio, and newspapers. Multivariate analysis, controlling for a host of predictors of coverage (e.g., seniority, state size, number of bills sponsored by members, number of press releases sponsored, members’ ideology and extremity, and assignment to a prestigious committee), demonstrated that televised news coverage was associated with the measure of physical attractiveness.”
The photo here, of a much-reported-upon politician, is by Certo Xornal, via creative commons.
(Thanks to investigator William J. Maloney for bringing this to our attention.)

‘This Is Improbable’ Show — London (Sun, 30 Sept)
I’m coming to the UK to celebrate publication of my new book This Is Improbable, with a series of shows.
The first — and biggest — will be in London this Sunday. I’ll be joined by a glowing multitude of all-star writers, scientists, broadcasters, and other performers. We’ll do dramatic, two-minute-long readings from some of the bizarre studies featured in the book. Please join us:
Sunday, Sept 30: LONDON, 2:00 pm. — CONWAY HALL, 25 Red Lion Square. The lineup includes:
Nick Doody : Stand up Comedian and The Atheist’s Guide to Chrismas contributor
Michael Brooks : Science Writer and Author of Free Radicals
Helen Arney : Science Songtress
Timandra Harkness : Mathematician and science communicator
Gemma Arrowsmith : actor and writer
Tim Radford ; former science editor of The Guardian
Dr Helen Scales : Marine Biologist
Mo Costandi : Writer of Neurophilosophy for the Guardian,
Alom Shaha : Physics teacher and author of The Young Atheist’s Handbook
Simon Ings : Novelist and science author
Neil Denny : radio show producer and Winston Churchill Memorial Travelling Fellow,
Alice Bell : Science lecturer and communicator extraordinaire,
Steve Colgan : QI contributor and Ex-Met Police ‘Ninja’
Dr Stuart Clark : Science writer and novelist
Iszi Lawrence : Comedian and writer
Dan Schreiber : Ex-QI Elf and Producer of BBC R4 The Museum of Curiosity
Helen Zaltzman : Writer, speaker, autodidact
Aarathi Prasad : Scientist and author
and perhaps a few more.
There are still some TICKETS available!
I’ll be doing other, equally improbable shows in Edinburgh (Tues, 2 Oct), Cambridge (Wed, 3 Oct), Bristol (Thu, 4 Oct), and Oxford (Fri, 5 Oct), and also appearing on the radio programs Infinite Monkey Cage and Museum of Curiosity.
Full schedule is on the Improbable Events page.
PS. Please spread the word! The twitter hashtag is #IgNobel

September 25, 2012
Updated index of new patents for golfballs (Sept. 2012)
The GolfBall Index maintained headway into positive territory again this month – virtually equalling August’s promising figures. September 2012 ended with almost one dozen new US patents for golfballs.
• Golf ball core with soft outer transition volume and negative hardness gradient
• Multi-layer core golf ball having opposing hardness gradient with steep gradient outer core layer
• Multi-layer-core golf ball having highly-neutralized polymer outer core layer
• Golf ball incorporating peptizers and method of manufacture
• Golf balls having two or more core layers formed from HNP compositions
• Golf ball with spherical polygonal dimples

Boring skulls since 1617
“There are lots of good reasons for making a hole in someone’s head, and in a neurosurgeon’s hands it is not a risky procedure, but for someone doing it themselves the risks are huge.”
This advice, from the British Medical Journal (BMJ, 320(7235): 602.), is very probably as sound today as when it was published in March 2000. For those who want to read more about the history of cranial boring (self-drilled and otherwise) look no further than the definitive book by Charles G Gross, ‘A Hole in the Head : More Tales in the History of Neuroscience’, 367 pages, The MIT Press, 2009. Significant extracts of which may be found here.
Note:
The picture above is a detail from an illustration plate found in some editions of :
THE SVRGIONS MATE, OR, A TREATISE DISCO-uering faithfully and plainely the duecontents of the SVRGIONS Cheft : the ufes of the Instruments, the vertues and operations of themedicines, the cures of the moft frequent difeases at SEA:Namely, Wounds, Apoftumes, Vlcers, Fiftulaes, Frac-tures, Diflocations, with the true maner of Amputation,the cure of the Scuruie, the Fluxes of the belly,of the Collica and Illiaca Passio, Tenafmus,and exitus Ani, the Callenture;WITH A BRIEFE EXPLANATIONof Sal, Sulphur, and Mercury; with certaine Characters, and tearmes of Arte.’Penned in 1617 by svrgion surgeon, barber and cranial-drill inventor John Woodall (c.1570 – 1643).

Leaning to the left: New Ig Nobel winners wed each other
Rolf Zwaan and Anita Eerland could not travel to Harvard to collect their 2012 Ig Nobel Psychology prize for their study “Leaning to the Left Makes the Eiffel Tower Seem Smaller“. They had an earlier appointment they did not want to cancel: getting married— to each other. Right after their wedding ceremony in the Netherlands they conducted an Ig Nobel experiment, with their wedding guests. We proudly present the pictures here, thanks to Ig Nobel winners Rof Zwaan and Anita Eerland, and courtesy of wedding photographer Anja Euser. (Their co-winner Tulio Guadalupe did travel to the Ig Nobel ceremony, where he accepted the prize for the trio.)

September 24, 2012
Thin Findings: Waxed vs. Unwaxed Dental Floss
Which do people prefer – dental floss that is waxed or dental floss that is unwaxed? A study called Patient Preference for Waxed or Unwaxed Dental Floss explores the question to a depth that was unprecedented in 1990, when it appeared in the Journal of Periodontology. Twenty-two years later, the report’s findings remain largely unchallenged.
Manufacturers of dental floss might ask which kind people actually purchase. Public health officials might ask which is the more effective at keeping teeth and gums healthy. Dr Robert H Beaumont [pictured here], chief of periodontics at the 842nd Strategic hospital, at Grand Forks Air Force base in North Dakota, stuck to the raw basics, asking 100 patients which kind of dental floss they simply, in their hearts, “prefer”….
So begins this week’s Improbable Research column in The Guardian.

September 23, 2012
Frozen Peas vs. Gel-Packs
In the absence of a purpose-made ice-pack or gel-pack, people sometimes grab a packet of frozen peas to cool-down an injury. But just how efficient is a pack of peas? Various research projects have undertaken experiments to find out. In 2005, for example, investigators from the Department of Physical Therapy, Faculty of Allied Health Sciences, Chulalongkorn University, Bangkok, Thailand, devised a set of experiments to test the efficacy of frozen peas as compared to an ice-pack, a gel-pack, or a mixture of water and alcohol. The gel-pack and the peas did have some effect, but the ice-pack and the alcohol/water mixture were significantly more efficient. Then, two years later in 2007, another team, from the University of Central Lancashire, Preston, Lancashire, UK, undertook a further investigation – this time featuring crushed ice, a gel-pack, frozen peas and ice-water immersion. Again, the gel-pack and the frozen peas were found to be less than ideal. But (readers may be wondering) given access to only a gel-pack or a packet of frozen peas – which is best? The answer is to be found in a study performed before the two outlined above. In 2002, investigators at the Physiotherapy Department, Coventry University, Coventry, UK, had found that peas performed significantly better than professionally produced gel-packs.
“Application of frozen peas produced mean skin temperatures adequate to induce localized skin analgesia, to reduce nerve conduction velocity, and to reduce metabolic enzyme activity to clinically relevant levels. Flexible frozen gel packs did not cool skin sufficiently to achieve these levels.”
BONUS :
(The late) Orson Welles had trouble with frozen peas . . .

Kirshner’s further thoughts on The Universe
Robert Kirshner‘s interview (conducted by Tam Hunt) under the headline “Dark Energy, and Making Sense of the Unseen — In a conversation with Robert Kirshner, the famed Harvard astrophysicist opens up about an ‘extravagant universe’“, is fun and interesting. But it’s not (and nothing could be) as fun and interesting as the keynote address he gave Thursday night at the Ig Nobel Prize ceremony. The ceremony’s theme this year was The Universe.
You can watch that Ig Nobel keynote speech.

Marc Abrahams's Blog
- Marc Abrahams's profile
- 14 followers
