Marc Abrahams's Blog, page 455
October 20, 2013
Behold a work of Error: “contributing to business success”
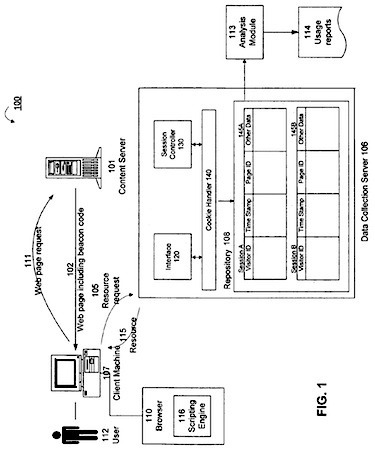
Brett M. Error [pictured here] and Christopher Reid Error hold many patents. Here’s one:
“Assigning value to elements contributing to business success,” Brett M. Error and Christopher Reid Error,US patent 7603373 B2, granted October 13, 2009.
The patent document explains, patiently:
“The present invention is related to tracking Website usage as it correlates With business success, and more particularly to accurately identifying and associating business success With elements activated by a user during the course of navigating a Website….
“Some portions of the detailed description are presented in terms of algorithms and symbolic representations of operations on data bits Within a computer memory. These algorithmic descriptions and representations are the means used by those skilled in the data processing arts to most effectively convey the substance of their Work to others skilled in the art.”
Detail from the patent:

October 19, 2013
Langmuir and Vonnegut together
This photo from General Electric shows a Nobel Prize winner and an eventual Ig Nobel Prize winner working together. GE describes it: “Thinking Outside the Cold Box: How a Nobel Prize Winner and Kurt Vonnegut’s Brother Made the Clouds Snow at GE in the 1940s… Irving Langmuir, Bernard Vonnegut, and Vincent Schaefer are seeding a cloud to make snow.”
Irving Langmuir was awarded a Nobel Prize in chemistry, in 1932. Bernard Vonnegut was posthumously awarded an Ig Nobel Prize in physics, in 1997 (which was accepted on his behalf by his sons, who took part in that year’s Ig Nobel ceremony).
Io9 describes Langmuir as “The Real-Life Scientist Who Inspired Kurt Vonnegut’s Cat’s Cradle“; other accounts suggest that brother Bernie may have been as much, perhaps even more, the model for that character.
Bernie Vonnegut’s Ig Nobel Prize-winning paper: ”Chicken Plucking as Measure of Tornado Wind Speed,” was published in Weatherwise [October 1975, p. 217].
Here’s video of Vincent Schaefer, the third man in that photo, making snow:
[Thanks to Jennifer Ouellette for inspiring this item.]

Sperm whale compared with sperm: Fluid dynamics
Sperm whales, sperm, the Reynolds number, Osborne Reynolds, Ed Purcell, and bacteria all figure in this short, clear video prepared by Aatish Bahaia and Brad Purnell:

October 18, 2013
Ig Nobel Prize knowledge can win you money on Italian TV
The most Curious Work ever Published?
As far back as 1882, the publishers of ‘The Sydney Slang Dictionary’ (which listed such phrases) insisted that it was “By far the most Curious Work ever Published.”
The question of whether it actually was or not, and/or whether even curiouser publications might have appeared since then, remains highly debatable. Either way, an article in the April 2010 edition of OZWords (a publication of the Australian National Dictionary Centre) displayed considerable underwhelmment with the content of the dictionary. Author Bruce Moore points out that of the 558 slang entries, only about 50 are truly Australian. Like, for example ‘On the Wallaby’ (meaning wandering and exploring). Whereas another entry,‘Nugget’ is in fact an old English word meaning ‘a lump of dirt’.
“This dictionary is therefore of very little value in the history of Australian lexicography. It appears to be an attempt to cash in on a popular and salacious interest in criminal slang. There is little that is distinctively Australian. This is a fact that should be clearly on the public and scholarly record.”
NOTE: As far as is known, only two copies of the dictionary are still in existence – both available to view at the Mitchell Library in Sydney.

October 17, 2013
A pitch for the pitch drop experiment
The University of Queensland invites you try to play a tiny but historic part in their Ig Nobel Prize-winning (physics, 2005) experiment:
The Pitch Drop is the world’s longest running lab experiment. Many believe it’s also the most boring. But in its 86 years, no one has seen a Pitch Drop fall.
Now the 9th drop is set to go and anyone watching has a chance at history….
The Ninth Watch is dedicated to Professor John Mainstone, who was Pitch Drop custodian for 52 years until he died in August without seeing a drop fall…. Professor Andrew White is the Pitch Drop’s new custodian.

A grave puzzling incident in Britain
The Chester (UK) Chronicle reports, on October 17, 2013:
A grieving family is upset after being ordered to remove personalised inscriptions from their loved one’s headstone comprising a Sudoku puzzle and mathematical equation.
Widow Angela Robinson of Barton Road, Farndon, is prepared to fight Farndon Parish Council all the way over its request that engravings be erased from the gravestone of her late husband Allan, who died in May last year aged 66.
She was particularly upset because the letter wrongly referred to her husband as ‘Mr Allen’ and said the decision was to ensure the standards of the burial ground at St Chad’s Church were “kept high for the benefit of all”.
Grandmother Mrs Robinson, 67, said the inscriptions were appropriate to her late husband, a retired mathematician, who had worked at Shell’s Thornton research centre.
She said: “It’s completely unnecessary. We are talking about a two inch square Sudoku puzzle and a one line mathematical equation because my husband was a mathematician and did a lot of Sudoku puzzles. He was a bit of a fanatic but this is personal to him….
The newspaper’s report includes this photo by Ian Cooper. Note that the gravestone to the right also has an image of some sort:
The Farndon Parish Council’s official notes about the incident are as follows:
Farndon Parish Council
MINUTES OF THE MEETING OF FARNDON PARISH COUNCIL HELD ON TUESDAY 3rd SEPTEMBER 2013 AT 7.30PM, IN THE MEMORIAL HALL, FARNDON.
Present: Cllr G Edwards, Cllr F Henderson, Cllr J Hillyer, Cllr V Roberts,
Cllr S Rowlandson and Cllr H Williams.
In attendance: Suzi Pollard (Clerk), 5 members of the public.
…
111.13 MEMORIAL STONE INSCRIPTIONS.
The Clerk reported that a headstone in the burial ground contains inappropriate images; a discussion followed regarding the headstone guidelines, the process for applications and their approval.
It was generally felt that there was little merit in producing guidelines if they were not going to be adhered to.
Resolved: that the Clerk will write to the grave owner to request that she arranges for the inscription to be removed.
(HT Adam K. Olson)
BONUS (possibly not unrelated): The grave of Erwin Schrödinger, in Alpbach, Austria, is adorned with the Schrödinger equation.

A Measured Celebration of the Jumping Frog
Mark Twain’s short story “The Celebrated Jumping Frog of Calaveras County” became the jumping off point, more than a century after the story was written, for a scientific study of frog-jumping performance:
“Chasing maximal performance: a cautionary tale from the celebrated jumping frogs of Calaveras County,” Henry C. Astley, E.M. Abbott, E. Azizi, R.L. Marsh and Thomas J. Roberts, Journal of Experimental Biology, vol. 216, November 1, 2013, pp. 3947-3953. The authors, at Brown University, Northeastern University, and Georgia Institute of Technology, report:
“We used a unique opportunity provided by a frog jumping contest to evaluate the validity of existing laboratory estimates of maximum jumping performance in bullfrogs (Rana catesbeiana). We recorded video of 3124 bullfrog jumps over the course of the 4-day contest at the Calaveras County Jumping Frog Jubilee, and determined jump distance from these images and a calibration of the jump arena. Frogs were divided into two groups: ‘rental’ frogs collected by fair organizers and jumped by the general public, and frogs collected and jumped by experienced, ‘professional’ teams. A total of 58% of recorded jumps surpassed the maximum jump distance in the literature (1.295 m), and the longest jump was 2.2 m. Compared with rental frogs, professionally jumped frogs jumped farther, and the distribution of jump distances for this group was skewed towards long jumps.”
The researchers provide this video of the competition:
BONUS: Science Daily tells of the people and the frogs.
BONUS: A landmark in neuroscience: “What the Frog’s Eye Tells the Frog’s Brain”
BONUS: Further Thomas J. Brownian research on frogs and other biological entities and phenomena

“God-awful… figures from cutting-edge published research”
LFHCfS (Luxuriant Flowing Hair Club for Scientists) member Erika Woolsey alerts us to the existence of the Bad Figure blog, which collects “God-awful good-for-nothing figures from cutting-edge published research”.
Here is one of Bad Figure’s many items:
Figure 1
Comparison of ratios of DNABIT Compress with existing algorithms
Rajarajeswari, P., & Apparao, A. (2011). DNABIT Compress – Genome compression algorithm. Bioinformation, 5(8), 350-360.
BONUS (related sympathetically, if not otherwise): The Museum of Bad Art (MOBA)

October 16, 2013
Clear examples of visual confusion (in science reports)
The Bad Figure blog collects confusing images from scientific reports.
Thanks to Kumiko Akatsuka for bringing this to our attention.)

Marc Abrahams's Blog
- Marc Abrahams's profile
- 14 followers
