Marc Abrahams's Blog, page 246
October 10, 2016
“Most people don’t lie very often but a few people lie a lot”
“Most people don’t lie very often but a few people lie a lot.” That’s one of the insights honored by this year’s Ig Nobel Prize for psychology. The Vanderbilt University Research newsletter explains:
Study about how lying varies with age receives Ig Nobel Prize
Centennial Professor of Psychology Gordon Logan [pictured here] is co-author of a paper on deception and lying that has received the 2016 Ig Nobel Prize for psychology.
According to the award website, “Ig Nobel Prizes honor achievements that make people LAUGH, and then THINK. The prizes are intended to celebrate the unusual, honor the imaginative — and spur people’s interest in science, medicine, and technology.”
This year’s awards were announced at the 26th First Annual Ig Nobel Prize ceremony held on Sept. 22 at Harvard University. The prizes are given by the Improbable Research group, which publishes a magazine, books, videos, a newsletter, newspaper column, podcast and blog.
“I don’t know why they selected this for the Ig Nobel prize,” Logan said. “It’s supposed to make you laugh and then think. Maybe the laughing is ‘why would anyone study lying?’ and the thinking is ‘because lying presents interesting cognitive challenges that liars must overcome.’”
The paper “From junior to senior Pinocchio: A cross-sectional lifespan investigation of deception” appeared in the Sept. 2015 issue of the journal Acta Psychologica. Logan’s co-authors were Evelyne Debey, Maarten De Schryver, Kristina Suchotzki and Bruno Verschuere at Ghent University in Belgium. The paper reports the results of a study of age-related differences in lying proficiency and lying frequency….
The researchers conclusion, which probably won’t come as a great surprise to parents, is that lying accuracy and proficiency improves throughout childhood, peaks in young adults and then decreases during adulthood. They also found that most people don’t lie very often but a few people lie a lot….

The case of the whistling caterpillars
“In this study, we introduce a novel form of sound production in caterpillars – whistling. While most insects and caterpillars that generate sound do so by rubbing body parts together or against a substrate, few generate sound through using air expulsion. The walnut sphinx Amorpha juglandis caterpillar is a cryptic species found throughout much of North America (Tuttle, 2007). Sounds produced by these caterpillars have been described in passing as ‘…a note resembling the sound tcêp or tceep’ (Sanborn, 1868), ‘whistles’, ‘hisses’ and ‘squeaks’ .”
It’s suggested that the caterpillar whistle may play a role in scaring away predators.
See: ‘Whistling in caterpillars (Amorpha juglandis, Bombycoidea): sound-producing mechanism and function’ by Veronica L. Bura, Vanya G. Rohwer, Paul R. Martin, and Jayne E. Yack, in Journal of Experimental Biology 2011 214: 30-37.
A sample of whistling caterpillars can be heard here, or by clicking the photo of the walnut sphinx above [.wav format]

October 9, 2016
“No question is stupid”
Debkumar Mitra has a nice essay called “No Question Is Stupid“, blogging for The Economic Times. It begins:
Every September, the cut-and-dry world of science tunes in to the proceedings of a unique research harlequin show at Harvard: the Ig Nobel Prize ceremony. There are Swedish Academy-approved laureates who hand over the awards to their fellow researchers and have a great time at the ceremony, often participating in an impromptu gig.
The promoters of the awards — the science humour magazine, Annals of Improbable Research — had a onepoint agenda in instituting them: the awarded research will first make you laugh and then think about them. Contrary to popular belief these awards do not lampoon science or wage a war to change the austere face of research institutions.
They help in giving research a human face by discovering the ripples of the laughter coming from behind the closed doors of laboratories and conference rooms in those staid, and sombre research papers.…

“Viagra is the universal cure-all of our time” ?
This week’s Cogno-Intellectual Debate Topic:
Viagra is the universal cure-all of our time.
It is our ipecac.
Please discuss. Or not.
For background, see the article in Quartz that includes this passage:
Period pain can be “almost as bad as a heart attack.” Why aren’t we researching how to treat it?
… Legro’s experience is instructive. Thanks to a previous grant, he and his fellow researchers found that sildenafil (also known as Viagra) can be used to treat dysmenorrhea. “We published our results in a high-impact OB-GYN journal and we feel we made a major contribution to treatment that everyday practitioners could use,” he says.
However, before it can be approved as a treatment, much more research is needed.
(Thanks to David Kessler for bringing this to our attention.)

October 8, 2016
I think that I shall never see a thing as sleepy as a tree
Inspired by popular interpretations of a new study (see below), we offer a revision to an old poem:
I think that I shall never see
A thing as sleepy as a tree.
A tree with drooping bits depressed,
All snoozy when it’s time to rest…
Andy Coglan writes, in New Scientist, about a recently published twig on a branch on the tree of knowledge:
Trees seen resting branches while ‘asleep’ for the first time
They don’t snore, but might creak during their slumbers. For the first time, trees have been shown to undergo physical changes at night that can be likened to sleep, or at least to day-night cycles that have been observed experimentally in smaller plants.
Branches of birch trees have now been seen drooping by as much as 10 centimetres at the tips towards the end of the night.
“It was a very clear effect, and applied to the whole tree,” says András Zlinszky [pictured here] of the Centre for Ecological Research in Tihany, Hungary. “No one has observed this effect before at the scale of whole trees, and I was surprised by the extent of the changes….
(Thanks to Dan Meyer and Lisa Oberzaucher and several other Ig Nobel Prize winners for bringing this to our attention.)

October 7, 2016
Sally Applin joins the Luxuriant Flowing Hair Club for Scientists (LFHCfS)
Sally Applin has joined the Luxuriant Flowing Hair Club for Scientists (LFHCfS). She says:
I am an anthropologist who examines autonomous vehicles, robots, drones, retail scripts and processes, drones, the IoT, etc. in the context of preserving human agency. My dissertation focused on small independent fringe new technology makers in Silicon Valley, what they are making, and most critically, how the adoption of the outcomes of their efforts impact society and culture locally, and/or globally. During this process, I grew my hair. This photo shows research, write-up, and defense hair growth. Remarkably, it did not turn entirely grey during this process.
Sally Applin, LFHCfS
Doctoral Candidate (2016 expected)
School of Anthropology and Conservation
University of Kent, Canterbury, UK

October 6, 2016
Jason Rasgon joins the Luxuriant Facial Hair Club for Scientists (LFHCfS)
Jason Rasgon has joined the Luxuriant Facial Hair Club for Scientists (LFHCfS), a sibling club of the Luxuriant Flowing Hair Club for Scientists (LFHCfS). He says:
I grew a beard in graduate school during fieldwork in Peru and have been too lazy ever since to shave it off. I shampoo it with whatever I happen to be using on my head and trim it every three months when I cut my hair whether it needs it or not. Possessing a beard like mine is a sign of obvious productivity because I can’t be bothered to spend even 5 extra minutes a day to keep it minimally kempt. I’d grow my hair out to join the Luxuriant Flowing Hair Club for Scientists™ but I’m going bald on top, and it would make me look like a degenerate.
Jason L. Rasgon, Ph.D, LFHCfS
Associate Professor of Disease Epidemiology
Department of Entomology,
The Center for Infectious Disease Dynamics, and the
Huck Institutes of The Life Sciences
The Pennsylvania State University
University Park, PA, USA

Jason Rasgon joins the Luxuriant Flowing Hair Club for Scientists (LFHCfS)
Jason Rasgon has joined the Luxuriant Flowing Hair Club for Scientists (LFHCfS), a sibling club of the Luxuriant Flowing Hair Club for Scientists (LFHCfS). He says:
I grew a beard in graduate school during fieldwork in Peru and have been too lazy ever since to shave it off. I shampoo it with whatever I happen to be using on my head and trim it every three months when I cut my hair whether it needs it or not. Possessing a beard like mine is a sign of obvious productivity because I can’t be bothered to spend even 5 extra minutes a day to keep it minimally kempt. I’d grow my hair out to join the Luxuriant Flowing Hair Club for Scientists™ but I’m going bald on top, and it would make me look like a degenerate.
Jason L. Rasgon, Ph.D, LFHCfS
Associate Professor of Disease Epidemiology
Department of Entomology,
The Center for Infectious Disease Dynamics, and the
Huck Institutes of The Life Sciences
The Pennsylvania State University
University Park, PA, USA

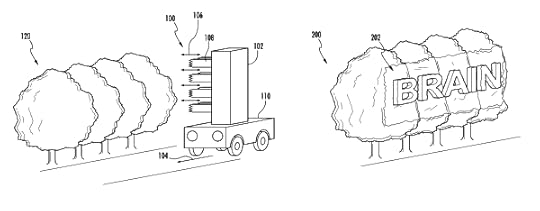
Enter the Robot Topiarist (new patent)
You might assume that since the occupation of ‘topiarist’ goes back nearly 2000 years (Pliny the Younger 62-100AD was a keen topiarist) it might well go on for another 2000. And it might – but nonetheless, as with many other occupations, professional topiarists might be well advised to keep an eye on new technological developments. The Brain Corporation of San Diego, California, has just received a US patent for its ‘Computerized learning landscaping apparatus and methods’
As can be seen from the before-and-after drawing above, the topiary-bot can, if required, carve the word BRAIN (or indeed any other suitable word, symbol, or 3-D design) into a living hedge, bush, tree, etc etc.
Also see: The, or Some, Ethics of Topiary
Bonus: How to pronounce the word ‘Topiarist’
Bonus (unrelated): “It’s Brains You Want”
Bonus (unrelated): Brain on Head in Brain

October 5, 2016
Coming attraction: Disgust: The Fluid Dynamics of the Gross
Fluid dynamics will swirl, both socially and scientifically, in Portland, Oregon, in November. The annual meeting of the American Physical Society (APS) Division of Fluid Dynamics will feature a disgust-packed, juicy special session:
Session L1: Focus Session – Disgust: The Fluid Dynamics of the Gross
Monday, November 21, 2016, 4:30PM
L1.00001: A numerical investigation of a simplified human birth model
Roseanna Gossmann , Alexa Baumer , Lisa Fauci , Megan C. Leftwich
L1.00002: An experimental study of human birth models
Alexa Baumer , Roseanna Gossmann , Lisa J Fauci , Megan C. Leftwich
L1.00003: Urethral anatomy and semen flow during ejaculation
Diane Kelly
L1.00004: Sperm navigation in complex environments
Sarah Olson
L1.00005: On the need for a biomimetic breast device
Nicole Danos , Rebecca German
L1.00006: Flow and active mixing have a strong impact on bacterial growth dynamics in the proximal large intestine
Jonas Cremer , Igor Segota , Chih-yu Yang , Markus Arnoldini , Alex Groisman , Terence Hwa
L1.00007: Sticky Saliva
Louise McCarroll , Michael Solomon , William Schultz
L1.00008: Cat tongue Velcro
Alexis Noel , Andrea Martinez , Hyewon Jung , Ting-Wen Tsai , [Ig Nobel Prize winner] David Hu
L1.00009: Self-mixing of fly larvae during feeding
Olga Shishkov , Christopher Johnson , Bryan Zhang , [Ig Nobel Prize winner] David Hu
PL1.00010: Boys who pee the farthest have a large hollow head, a thin skin, and medium-size manhood
Daniel Attinger , Vincent Lee
The conference web site has juicy abstracts of each of these sessions.
Thanks to Nicole Sharp for bringing this to our attention. Sharp will herself be presenting at two other, equally juicy sessions:
Session L27: Non-Newtonian Flows: Applications
4:30 PM–6:27 PM, Monday, November 21, 2016
Abstract: L27.00008 : In a sea of sticky molasses: The physics of the Boston Molasses Flood
Session D9: Fluid Dynamics – Education, Outreach, and Diversity I
2:57 PM–4:28 PM, Sunday, November 20, 2016
Abstract: D9.00003 : F*** Yeah Fluid Dynamics: Inside the science communication process

Marc Abrahams's Blog
- Marc Abrahams's profile
- 14 followers
